LEMON Manuals: Even more car manuals for everyone: 1960-2025
Home >> Cadillac >> 2012 >> Escalade EXT >> Repair and Diagnosis >> External Pages >> Different car >> Section 664 (Lighting System) >> Diagnostic Information and Procedures >> DTC B2585 >> Notes
April 5, 2026: LEMON Manuals is launched! Read the announcement.

DTC B2585: Notes

WARNING: This page is about a different car, the 2007 Saturn Vue. However, it is still accessible from the selected car via links, so may be relevant.
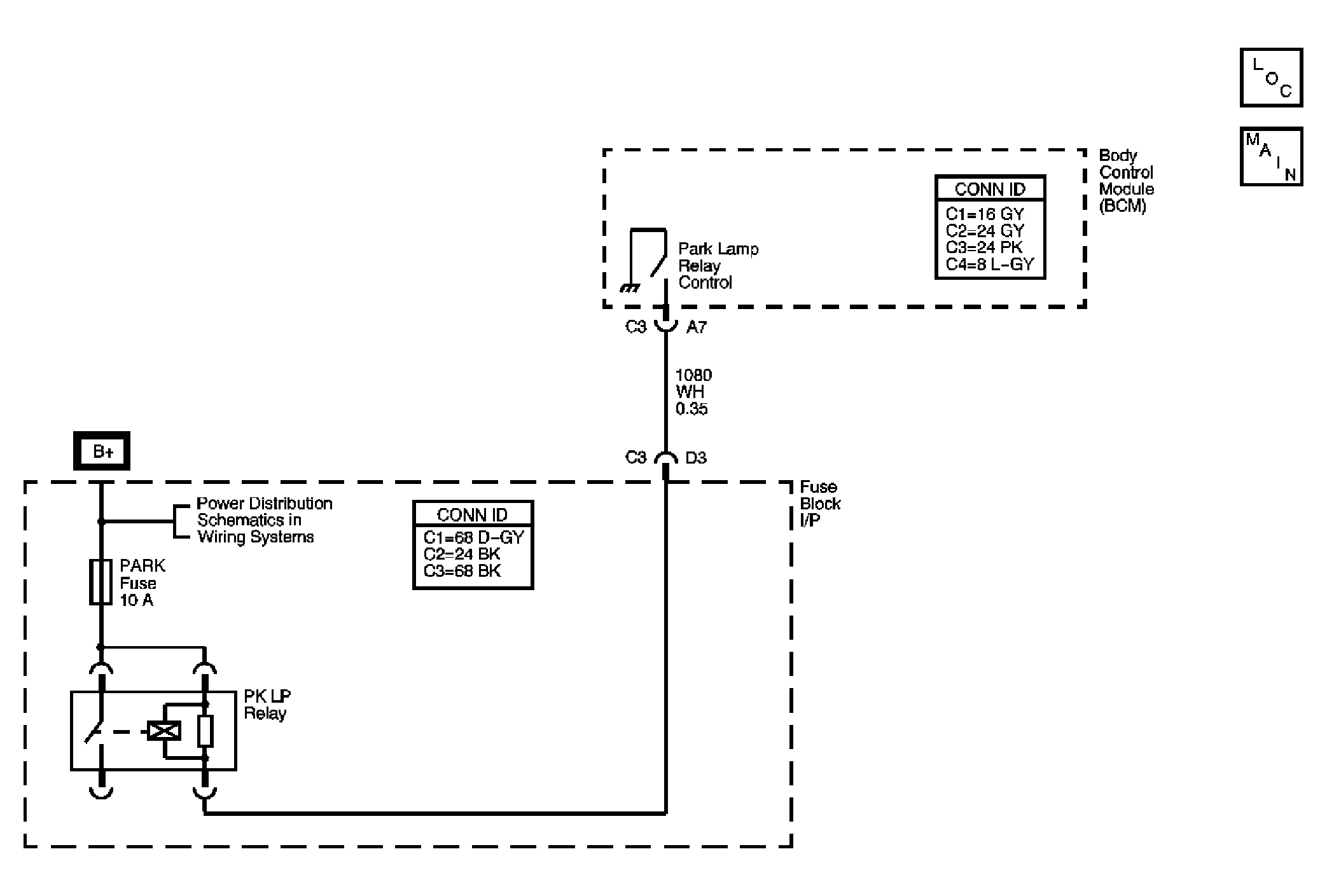
Fig 1: DTC B2585 Circuit
GM1351215Courtesy of GENERAL MOTORS CORP.