LEMON Manuals: Even more car manuals for everyone: 1960-2025
Home >> Cadillac >> 2012 >> Escalade EXT >> Repair and Diagnosis >> External Pages >> Different car >> Section 674 (Cellular System, Entertainment System, And Navigation System) >> Component Locator >> Entertainment/Communication Connector End Views >> Video Display (U32)
April 5, 2026: LEMON Manuals is launched! Read the announcement.

Video Display (U32)

WARNING: This page is about a different car, the 2007 Saturn Vue. However, it is still accessible from the selected car via links, so may be relevant.
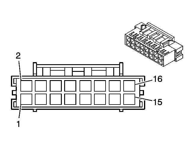
Fig 1: Video Display (U32) Connector End Views
GM1333229Courtesy of GENERAL MOTORS CORP.
Video Display (U32) Connector Parts Information

Connector Part Information 
  • OEM: XADRP-16V
  • Service: See Catalog
  • Description: 16-Way F Multi-Lock (BK)
Video Display (U32) Connector Terminal Identification

Pin Wire Color Circuit No. Function
1 L-BU 5826 Audio Signal - Left
2 WH 5828 Audio Signal - Right
3 BARE 514 Drain Wire
4 YE/BK 5334 Video Signal (+)
5 BK/WH 151 Ground
6 PK 2060 DVD Detection Signal
7 GY 605 5-Volt Reference
8 OG 2140 Battery Positive Voltage
9 BN/WH 2506 Audio Return Signal
10 BARE 701 Drain Wire
11 BARE 5818 Drain Wire
12 WH/BK 5335 Video Signal (-)
13 YE/RD 6791 DVD Control Signal
14 D-GN 6792 DVD Head to Display Serial Data
15 OG 6793 Display to DVD Head Serial Data
16 OG 2140 Battery Positive Voltage