LEMON Manuals: Even more car manuals for everyone: 1960-2025
Home >> Cadillac >> 2012 >> Escalade EXT >> Repair and Diagnosis >> External Pages >> Different car >> Section 799 (Antilock Brake System, Traction Control System & Stability Control System) >> Repair Instructions >> Brake Pressure Modulator Valve Replacement (W/JL4) >> Installation Procedure
April 5, 2026: LEMON Manuals is launched! Read the announcement.

Installation Procedure

WARNING: This page does not describe the selected car, but rather 8 other vehicles, including the 2007 GMC Yukon XL, 2007 GMC Yukon, 2007 Chevrolet Tahoe, 2007 Chevrolet Suburban, and 2007 Chevrolet Avalanche. However, it is still accessible from the selected car via links, so may be relevant.
  1. If removed, install the EBCM. Refer to Electronic Brake Control Module Replacement (W/JL4)  or Electronic Brake Control Module Replacement (W/O JL4) .
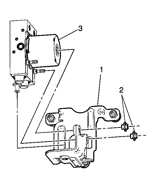
  2. Fig 1: View Of BPMV, Mounting Nuts & Grommets
    GM1703020Courtesy of GENERAL MOTORS CORP.
  3. Position the BPMV (3) to the mounting bracket (1).
  4. NOTE: Refer to Fastener Notice .
  5. Install the retaining nuts (2) to the BPMV (3).

    Tighten:  Tighten to 9 N.m (80 lb in).

  6. Fig 2: View Of BPMV & Bracket Assembly
    GM1702794Courtesy of GENERAL MOTORS CORP.
  7. Position the BPMV and bracket assembly (13) to the frame.
  8. Slide the BPMV assembly toward the rear of the vehicle.
  9. Install the BPMV bracket bolts (12).

    Tighten:  Tighten the bolts to 22 N.m (16 lb in).

  10. Fig 3: View Of Front Brake Pipes & Fittings
    GM1702778Courtesy of GENERAL MOTORS CORP.
  11. Position the front brake pipes (11) to the BPMV (6).
  12. Install the front brake pipe fittings (10).

    Tighten:  Tighten the fittings to 18 N.m (13 lb ft).

  13. Fig 4: View Of BPMV & Components
    GM1702775Courtesy of GENERAL MOTORS CORP.
  14. Position the front brake pipe (8) to the BPMV.
  15. Install the front brake pipe fitting (7).

    Tighten:  Tighten the fitting to 18 N.m (13 lb ft).

  16. Position the retaining clip (9) to the frame.
  17. Fig 5: View Of BPMV & Components
    GM1702773Courtesy of GENERAL MOTORS CORP.
  18. Position the rear brake pipes (3) and (5) to the BPMV (6).
  19. Install the rear brake pipe fittings (2) and (4).

    Tighten:  Tighten the fittings to 18 N.m (13 lb ft).

  20. Position the retaining clip (1) to the frame.
  21. Connect the EBCM electrical connector.
  22. Bleed the BPMV. Refer to Antilock Brake System Automated Bleed Procedure (W/JL4)  or Antilock Brake System Automated Bleed Procedure (W/O JL4) .