LEMON Manuals: Even more car manuals for everyone: 1960-2025
Home >> Cadillac >> 2012 >> Escalade EXT >> Repair and Diagnosis >> Quick Lookups >> Electrical Component Locations >> Electrical Component Locator - Passenger Compartment/Roof Component Views >> Passenger Compartment/Roof Component Views >> Headliner Components (LWB)
April 5, 2026: LEMON Manuals is launched! Read the announcement.

Headliner Components (LWB)

Headliner Components (LWB)

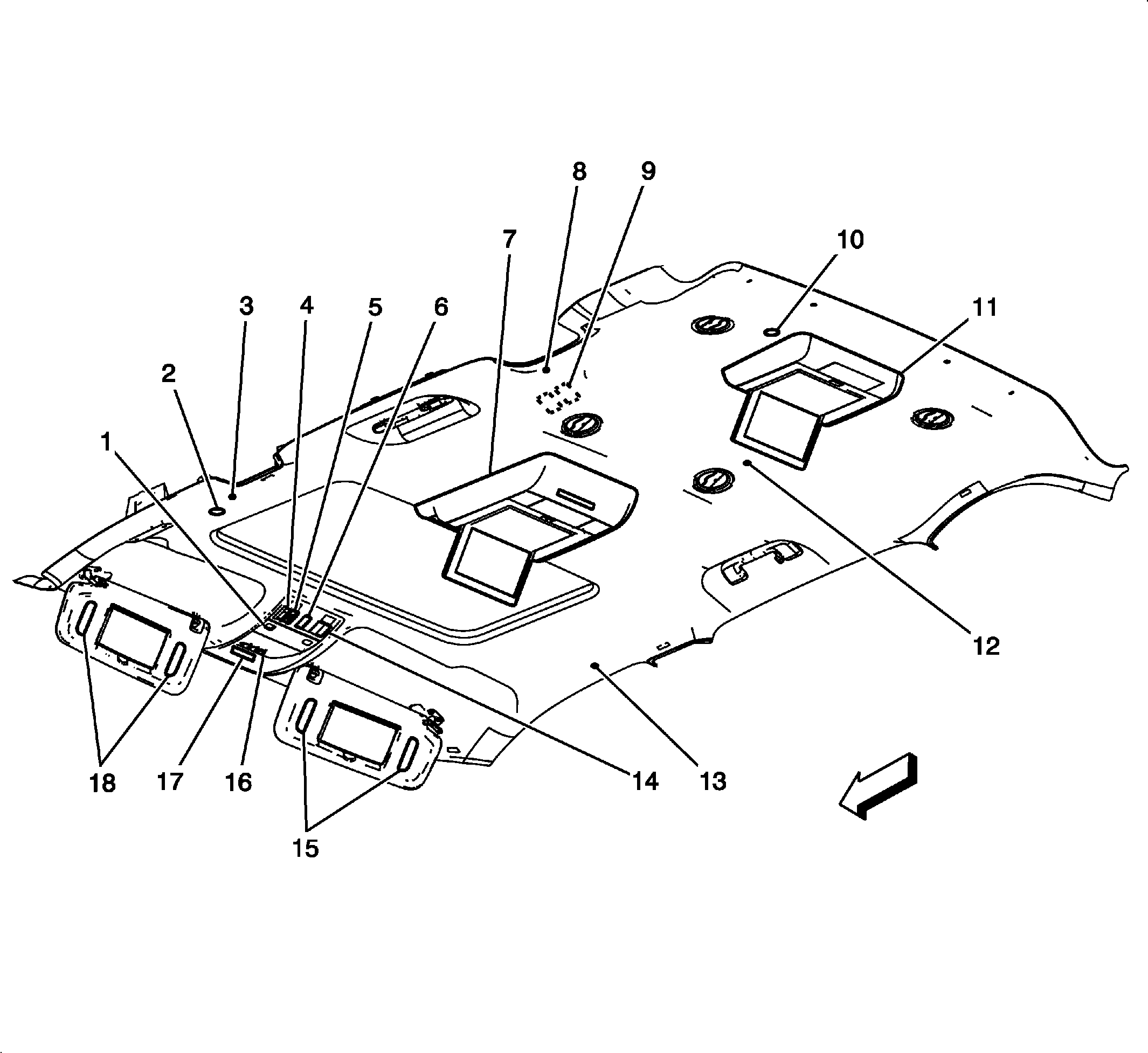
Component Name Callout
Dome/Reading Lamps 1
Inside Air Temperature Sensor - Front (CJ2) 2
Radio Volume Compensator Interior Noise Microphone - Left Front (Y91) 3
Sunroof Switch (CF5) 4
Cellular Telephone Microphone (UE1) 5
Liftgate Control Switch - Interior (E61) 6
Digital Video Disc (DVD) Display - Front (U42) 7
Video Signal Splitter (X88 or Z88, with DNU) 8
Electronic Compass Module (YE9) 9
Inside Air Temperature Sensor - Rear (CJ2 with C69) 10
Digital Video Disc (DVD) Display - Rear (DNU) 11
Radio Volume Compensator Interior Noise Microphone - Rear (Y91) 12
Radio Volume Compensator Interior Noise Microphone - Right Front (Y91) 13
Folding Seat Switch - Front (ARS) 14
Sunshade - Right 15
Garage Door Opener (GDO) (UG1) 16
Inflatable Restraint Passenger Air Bag On/Off Indicator 17
Sunshade - Left 18
Fig 1: Headliner Components (LWB)
GM2390219Courtesy of GENERAL MOTORS COMPANY