LEMON Manuals: Even more car manuals for everyone: 1960-2025
Home >> Cadillac >> 2012 >> Escalade EXT >> Repair and Diagnosis >> Quick Lookups >> Wiring Diagrams >> Wiring Systems And Power Management - Component Connector End Views - Memory Seat Module (X5) To Yaw Sensor >> Component Connector End Views >> Seat Adjuster Switch - Driver (AN3)
April 5, 2026: LEMON Manuals is launched! Read the announcement.

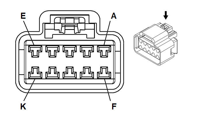
Seat Adjuster Switch - Driver (AN3)

GM623046Courtesy of
Connector Part Information
  • Harness Type: Driver Seat
  • OEM Connector: 15326931
  • Service Connector: 15306309
  • Description: 10-Way F GT 280 Series (BK)
Terminal Part Information
  • Terminated Lead: 13575753
  • Release Tool: J-38125-553
  • Diagnostic Test Probe: J-35616-4A (PU)
  • Terminal/Tray: 15304711/8
  • Core/Insulation Crimp: E/A
Seat Adjuster Switch - Driver (AN3)

Pin Wire Circuit Function
A 0.35 D-GN 1518 Front Vertical Up Switch Signal
B - - Not Used
C 0.35 L-GN 1523 Horizontal Rearward Switch Signal
D 0.35 TN 1522 Horizontal Forward Switch Signal
E 0.35 PU/WH 6205 Battery Positive Voltage
F 0.35 YE 1519 Rear Vertical Up Switch Signal
G 0.35 D-GN/WH 1270 Recline Rearward Switch Signal
H 0.35 GY/BK 1269 Recline Forward Switch Signal
J 0.35 L-BU 1521 Rear Vertical Down Switch Signal
K 0.35 D-BU 1520 Front Vertical Down Switch Signal