LEMON Manuals: Even more car manuals for everyone: 1960-2025
Home >> Cadillac >> 2012 >> Escalade EXT >> Repair and Diagnosis >> Quick Lookups >> Wiring Diagrams >> Wiring Systems And Power Management - Component Connector End Views - Memory Seat Module (X5) To Yaw Sensor >> Component Connector End Views >> Seat Rear Vertical Motor - Driver (AG1 with HP2)
April 5, 2026: LEMON Manuals is launched! Read the announcement.

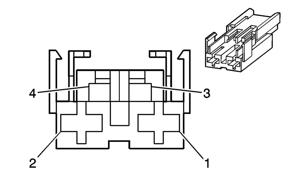
Seat Rear Vertical Motor - Driver (AG1 with HP2)

GM1554926Courtesy of
Connector Part Information
  • Harness Type: Driver Seat
  • OEM Connector: 968182-1
  • Service Connector: Service by Harness - See Part Catalog
  • Description: 4-Way F (BK)
Terminal Part Information
  • Terminated Lead: Service by Harness - See Part Catalog
  • Release Tool: 12093647
  • Diagnostic Test Probe: J-35616-4A (PU)
  • Terminal/Tray: 4-965999-1/25
  • Core/Insulation Crimp: 4/A
Seat Rear Vertical Motor - Driver (AG1 with HP2)

Pin Wire Circuit Function
1 2 L-BU 283 Driver Power Seat Rear Vertical Motor Down Control
2 2 YE 282 Driver Power Seat Rear Vertical Motor Up Control
3-4 - - Not Used