LEMON Manuals: Even more car manuals for everyone: 1960-2025
Home >> Cadillac >> 2012 >> Escalade EXT >> Repair and Diagnosis >> Steering >> Power Steering System >> Component Locator >> Power Steering Gear Disassembled View (Two Mode Hybrid) >> Disassembled View
April 5, 2026: LEMON Manuals is launched! Read the announcement.

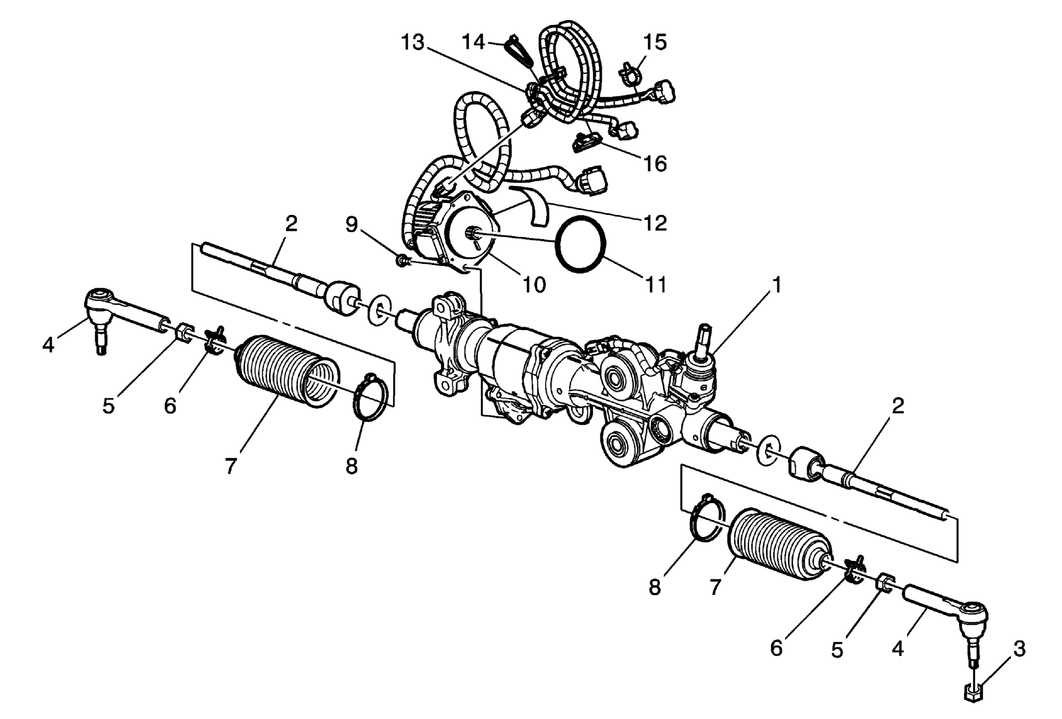
Disassembled View

Fig 1: Disassembled View
GM2148036Courtesy of GENERAL MOTORS COMPANY
Callout Component Name
1 Steering Gear
2 Steering Linkage Inner Tie Rod
3 Steering Linkage Outer Tie Rod Nut
4 Steering Linkage Outer Tie Rod
5 Steering Linkage Inner Tie Rod Nut
6 Outer Steering Gear Boot Clamp
7 Steering Gear Boot
8 Inner Steering Gear Boot Clamp
9 Power Steering Assist Motor Bolt
10 Power Steering Assist Motor
11 Power Steering Assist Motor Seal
12 Power Steering Assist Motor Label
13 Power Steering Wiring Harness Extension Harness
14 Plastic Tie Strap
15 Power Steering Wiring Harness Extension Harness Retainer
16 Power Steering Wiring Harness Extension Harness Retainer