LEMON Manuals: Even more car manuals for everyone: 1960-2025
Home >> Cadillac >> 2012 >> SRX AWD >> Repair and Diagnosis (Single Page) >> Quick Lookups >> Wiring Diagrams >> Wiring Systems And Power Management - Component Connector End Views - E37D Through X4 >> Component Connector End Views >> K40 Seat Memory Control Module X1 (AAB)
April 5, 2026: LEMON Manuals is launched! Read the announcement.

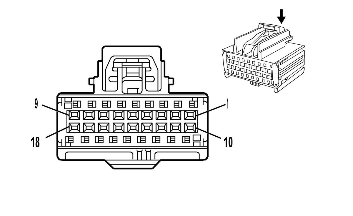
K40 Seat Memory Control Module X1 (AAB)

GM1664585Courtesy of
Connector Part Information
  • Harness Type: Driver Seat
  • OEM Connector: 13548562
  • Service Connector: 89047360
  • Description: 18-Way F 0.64 Kaizen Series (BK)
Terminal Part Information
  • Terminated Lead: Pins: 1, 5-6, 9-11, 15-18 - 13575867
  • Terminated Lead: Pins: 2-4, 7-8, 12-13 - 13575845
  • Release Tool: J-38125-215A
  • Diagnostic Test Probe: J-35616-64B (L-BU)
  • Terminal/Tray: SAIT-A03T-M064/14
  • Core/Insulation Crimp: P/P
K40 Seat Memory Control Module X1 (AAB)

Pin Wire Circuit Function
1 0.35 WH 5908 Right Heated/Cooled Seat Mode Signal
2 0.5 D-GN 1518 Power Seat Front Vertical Up Switch Signal
3 0.5 YE 1519 Power Seat Rear Vertical Up Switch Signal
4 0.5 L-BU 1521 Power Seat Rear Vertical Down Switch Signal
5 0.35 PU 5286 Adjustable Pedals Forward Switch Signal
6 0.35 OG/BK 5285 Adjustable Pedals Rearward Switch Signal
7 0.5 GY/BK 1269 Power Seat Recline Forward Switch Signal
8 0.5 D-GN/WH 1270 Power Seat Recline Rearward Switch Signal
9 0.35 TN 6207 Memory Sensor High Reference
10 0.35 D-GN 5906 Left Heated/Cooled Seat Mode Signal
11 0.35 WH 7530 Local Interconnect Network 8
12 0.5 D-BU 1520 Power Seat Front Vertical Down Switch Signal
13 0.5 OG/WH 3298 Reference Voltage
14 - - Not Used
15 0.35 D-GN 569 Horizontal Seat Motor Position Sensor Signal
16 0.35 TN 568 Rear Vertical Seat Motor Position Sensor Signal
17 0.35 BN/WH 557 Front Vertical Seat Motor Position Sensor Signal
18 0.35 WH/BK 570 Driver Seat Recline Motor Position Sensor Signal