LEMON Manuals: Even more car manuals for everyone: 1960-2025
Home >> Cadillac >> 2013 >> CTS Sedan AWD V6-3.6L >> Repair and Diagnosis >> Diagrams >> Connector Views >> Electronic Brake Control Module >> Electronic Brake Control Module (EBCM) (without MX7)
April 5, 2026: LEMON Manuals is launched! Read the announcement.

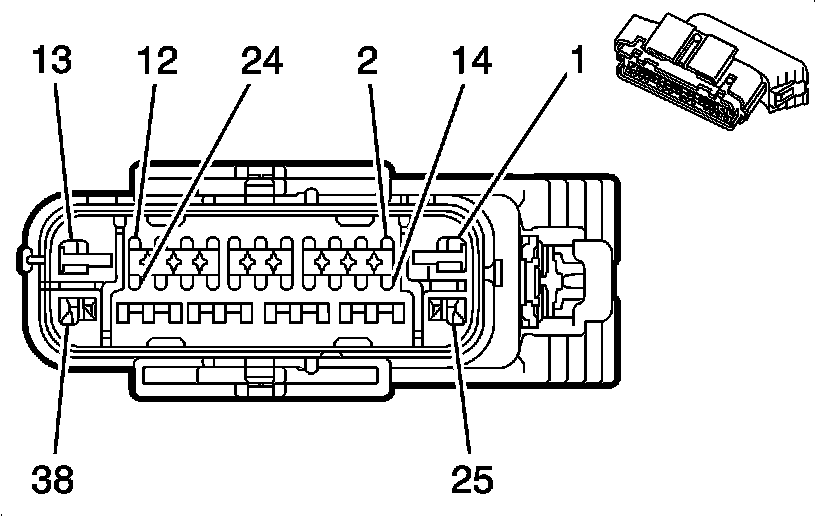
Electronic Brake Control Module (EBCM) (without MX7)





Component Connector End Views

Electronic Brake Control Module (EBCM) (without MX7)