LEMON Manuals: Even more car manuals for everyone: 1960-2025
Home >> Cadillac >> 2013 >> CTS Sedan AWD V6-3.6L >> Repair and Diagnosis >> Diagrams >> Connector Views >> Engine Control Module >> Engine Control Module (ECM) X2
April 5, 2026: LEMON Manuals is launched! Read the announcement.

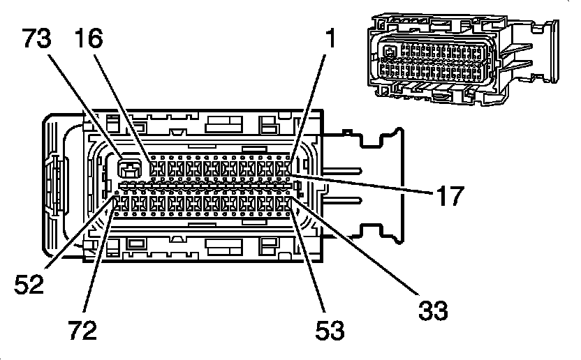
Engine Control Module (ECM) X2





Component Connector End Views

Engine Control Module (ECM) X2 (LFW or LFX)