LEMON Manuals: Even more car manuals for everyone: 1960-2025
Home >> Cadillac >> 2013 >> CTS Sedan AWD V6-3.6L >> Repair and Diagnosis >> Diagrams >> Connector Views >> Headlamp >> Headlamp Control Module
April 5, 2026: LEMON Manuals is launched! Read the announcement.

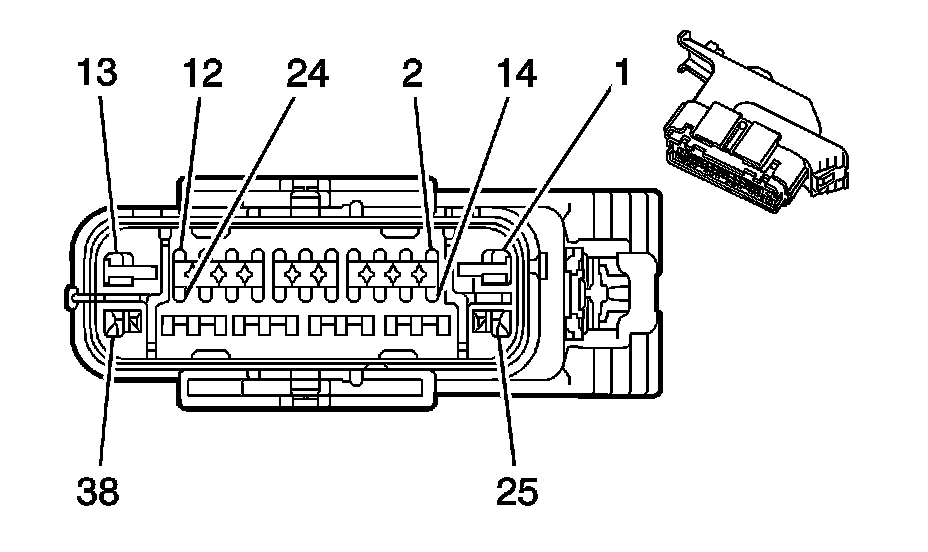
Headlamp Control Module





Component Connector End Views

Headlamp Module (TR7 or T4F)