LEMON Manuals: Even more car manuals for everyone: 1960-2025
Home >> Cadillac >> 2013 >> CTS Sedan RWD V8-6.2L SC >> Repair and Diagnosis >> Powertrain Management >> Computers and Control Systems >> Relays and Modules - Computers and Control Systems >> Engine Control Module >> Diagrams >> Engine Control Module (ECM) X1
April 5, 2026: LEMON Manuals is launched! Read the announcement.

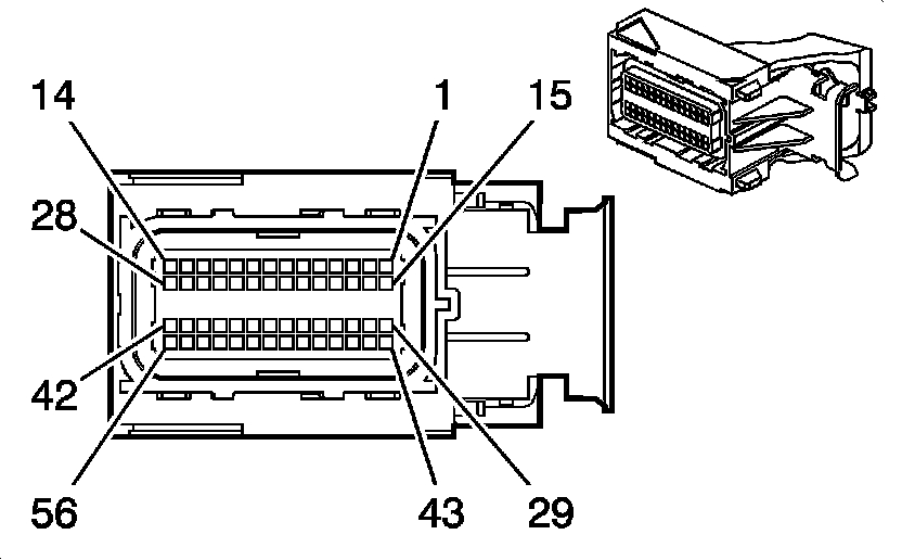
Engine Control Module (ECM) X1





Component Connector End Views

Engine Control Module (ECM) X1 (LSA)