LEMON Manuals: Even more car manuals for everyone: 1960-2025
Home >> Cadillac >> 2013 >> Escalade AWD V8-6.2L >> Repair and Diagnosis >> Diagrams >> Connector Views >> Fuel Pump Control Unit >> Fuel Pump Flow Control Module (without JL1)
April 5, 2026: LEMON Manuals is launched! Read the announcement.

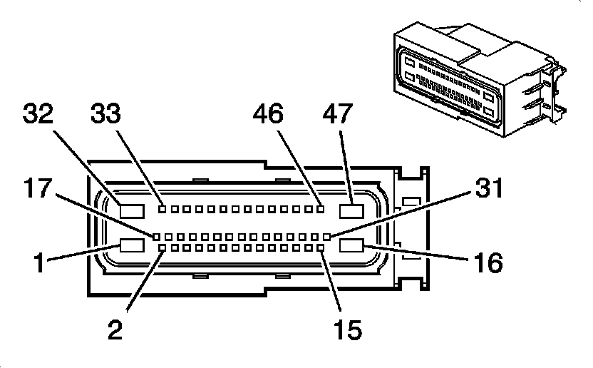
Fuel Pump Flow Control Module (without JL1)




Component Connector End Views

Fuel Pump Flow Control Module (without JL1)