LEMON Manuals: Even more car manuals for everyone: 1960-2025
Home >> Cadillac >> 2013 >> Escalade AWD V8-6.2L >> Repair and Diagnosis >> Heating and Air Conditioning >> Control Module HVAC >> Service and Repair >> HVAC - Automatic >> Auxiliary Heater and Air Conditioning Control Module Replacement
April 5, 2026: LEMON Manuals is launched! Read the announcement.

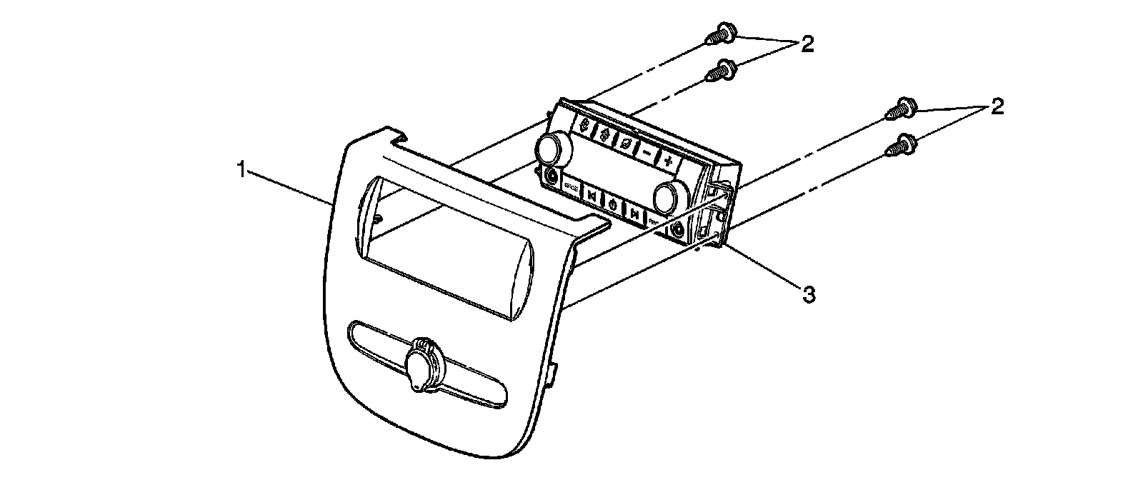
Auxiliary Heater and Air Conditioning Control Module Replacement




Auxiliary Heater and Air Conditioning Control Module Replacement