LEMON Manuals: Even more car manuals for everyone: 1960-2025
Home >> Cadillac >> 2013 >> Escalade AWD V8-6.2L >> Repair and Diagnosis >> Relays and Modules >> Relays and Modules - Powertrain Management >> Relays and Modules - Computers and Control Systems >> Engine Control Module >> Diagrams >> Engine Control Module (ECM) X1
April 5, 2026: LEMON Manuals is launched! Read the announcement.

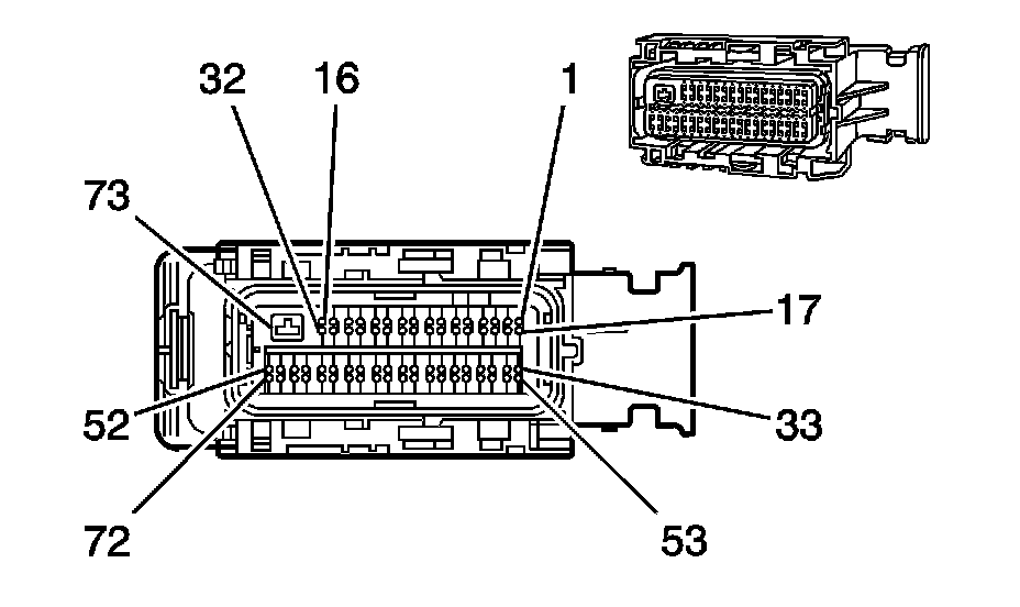
Engine Control Module (ECM) X1




Component Connector End Views

Engine Control Module (ECM) X1 (except HP2)