LEMON Manuals: Even more car manuals for everyone: 1960-2025
Home >> Cadillac >> 2013 >> Escalade AWD V8-6.2L >> Repair and Diagnosis >> Specifications >> Mechanical Specifications >> Engine >> System Specifications >> Thread Repair Specifications
April 5, 2026: LEMON Manuals is launched! Read the announcement.

Thread Repair Specifications




Thread Repair Specifications

Engine Block- Front/Rear Views










Engine Block- Left/Right Side Views










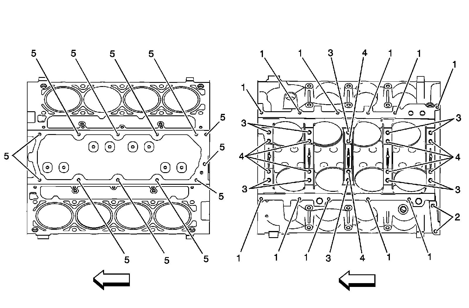
Engine Block- Top/Bottom Views










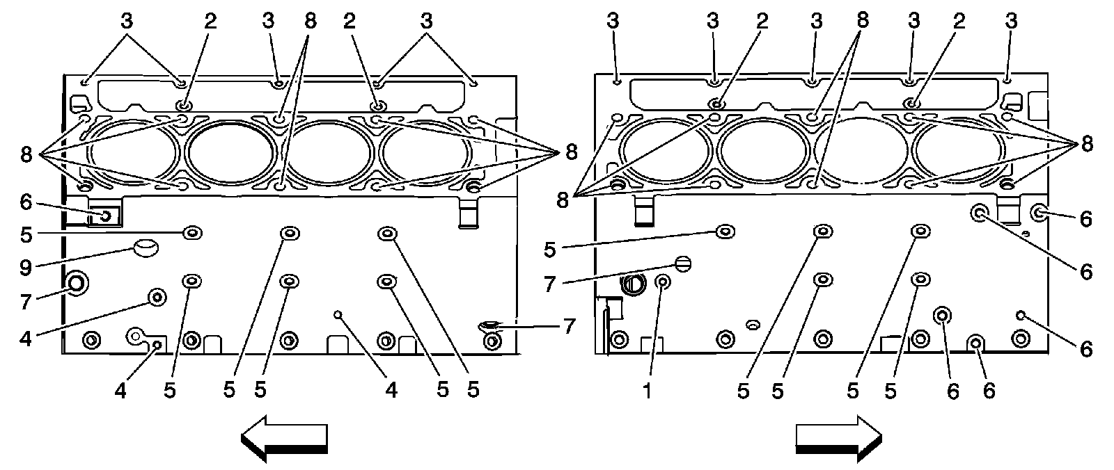
Cylinder Head- Top/End Views










Cylinder Head- Intake/Exhaust Side Views