LEMON Manuals: Even more car manuals for everyone: 1960-2025
Home >> Cadillac >> 2013 >> SRX Base >> Repair and Diagnosis >> External Pages >> Different car >> Section 130 (Wiring Systems And Power Management - Component Connector End Views - A10 To B78F) >> Component Connector End Views >> B71L Liftgate Object Sensor - Left
April 5, 2026: LEMON Manuals is launched! Read the announcement.

B71L Liftgate Object Sensor - Left

WARNING: This page is about a different car, the 2015 Cadillac SRX. However, it is still accessible from the selected car via links, so may be relevant.
GM1664595
Connector Part Information
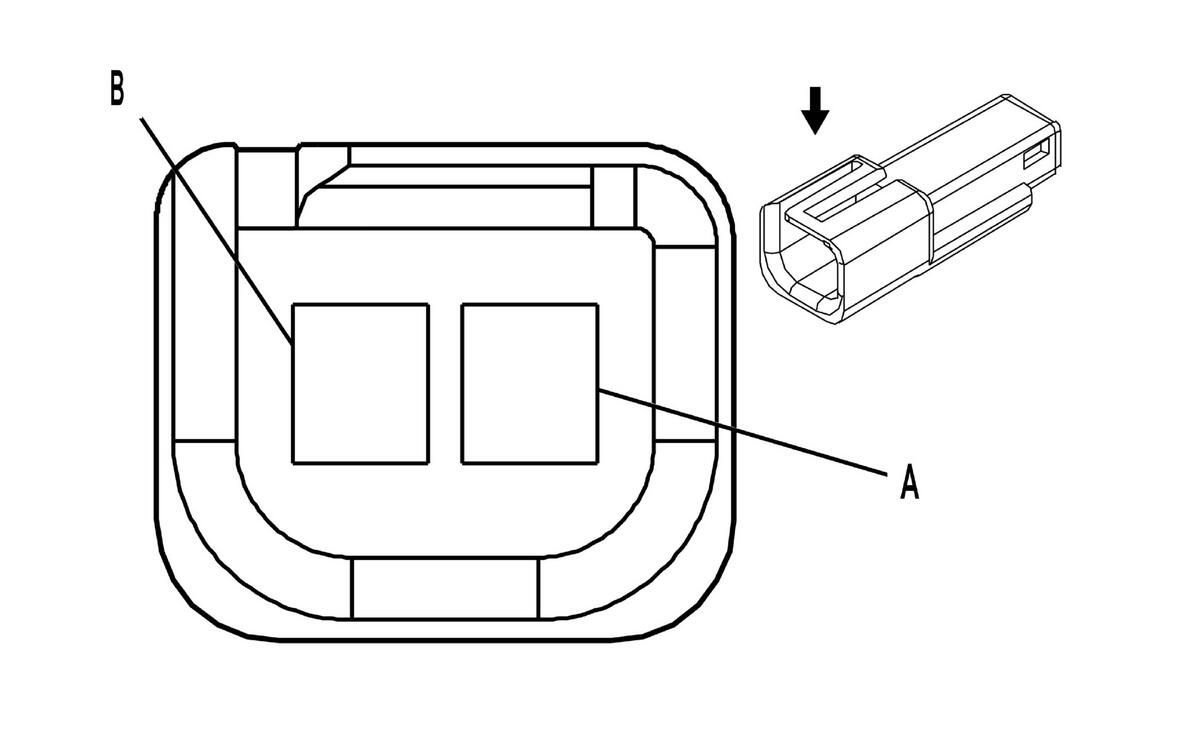
  • Harness Type: Liftgate
  • OEM Connector: 12048457
  • Service Connector: Service by Harness Assembly - See Part Catalog
  • Description: 2-Way M 150 Metri-Pack Series (BK)
Terminal Part Information

Terminal Type ID Terminated Lead Diagnostic Test Probe Terminal Removal Tool Service Terminal Tray Core Crimp Insulation Crimp
I Not Required J-35616-3 (GY) No Tool Required Not Required Not Required Not Required Not Required
Pin Size Color Circuit Function Terminal Type ID Option
A 0.5 GY/BK 5802 Lift Gate Object Sensor Signal I -
B 0.5 BK/VT 5801 Lift Gate Object Sensor Low Reference I -