LEMON Manuals: Even more car manuals for everyone: 1960-2025
Home >> Cadillac >> 2013 >> XTS AWD V6-3.6L >> Repair and Diagnosis >> Diagrams >> Exploded Views >> Transfer Case
April 5, 2026: LEMON Manuals is launched! Read the announcement.

Transfer Case




Transfer Case Disassembled View

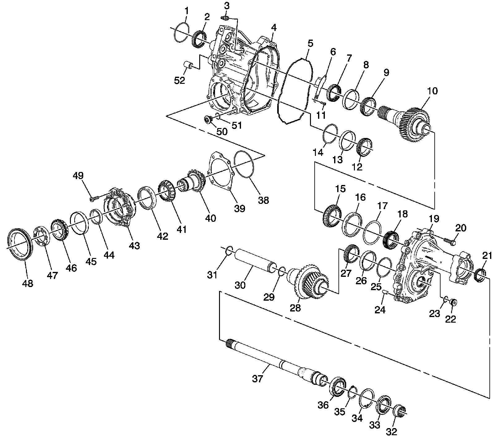
Transfer Case Components (MXE)





1 - Transmission-to-Transfer Case O-ring Seal

2 - Input Shaft Front (outer) Seal

3 - Transfer Case Vent Hose Connector

4 - Transfer Case Housing

5 - Transfer Case Rear Extension Housing-to-Transfer Case Seal

6 - Transfer Case Vent Baffle

7 - Input Shaft Front (inner) Seal

8 - Input Shaft Front Bearing Race

9 - Input Shaft Front Bearing

10 - Input Shaft

11 - Transfer Case Vent Baffle Bolt

12 - Idler Shaft Front Bearing

13 - Idler Shaft Front Bearing Race

14 - Idler Shaft Front Bearing Shim

15 - Input Shaft Rear Bearing

16 - Input Shaft Rear Bearing Race

17 - Input Shaft Rear Bearing Shim

18 - Input Shaft Bearing Retainer Rear Seal

19 - Rear Extension Housing

20 - Transfer Case-to-Rear Extension Housing Bolt

21 - Intermediate Shaft Seal

22 - Transfer Case Fill Plug

23 - Transfer Case Fill Plug Sealing Washer

24 - Transfer Case-to-Rear Extension Housing Locating Pin

25 - Idler Shaft Rear Bearing Shim

26 - Idler Shaft Rear Bearing Race

27 - Idler Shaft Rear Bearing

28 - Idler Shaft

29 - Idler Gear Shaft Rear Seal

30 - Idler Gear Shaft

31 - Idler Gear Shaft Front Seal

32 - Transfer Case Seal

33 - Intermediate Shaft O-ring Seal - second design

34 - Intermediate Shaft Dirt Deflector - model dependant

35 - Intermediate Shaft Assembly Retaining Ring

36 - Intermediate Shaft Bearing Retaining Ring

37 - Intermediate Shaft Bearing

38 - Intermediate Shaft

39 - Rear Output Shaft Housing O-ring Seal

40 - Rear Output Shaft Shim

41 - Rear Output Shaft

42 - Rear Output Shaft Bearing

43 - Rear Output Shaft Bearing Race

44 - Rear Output Shaft Housing

45 - Rear Output Shaft Bearing Spacer

46 - Rear Output Shaft Bearing Race

47 - Rear Output Shaft Bearing

48 - Rear Output Drive Gear Nut

49 - Rear Output Shaft Seal

50 - Rear Output Shaft Housing Bolt

51 - Transfer Case Drain Plug

52 - Transfer Case Drain Plug Sealing Washer

53 - Transfer Case-to-Transmission Locating Bushing

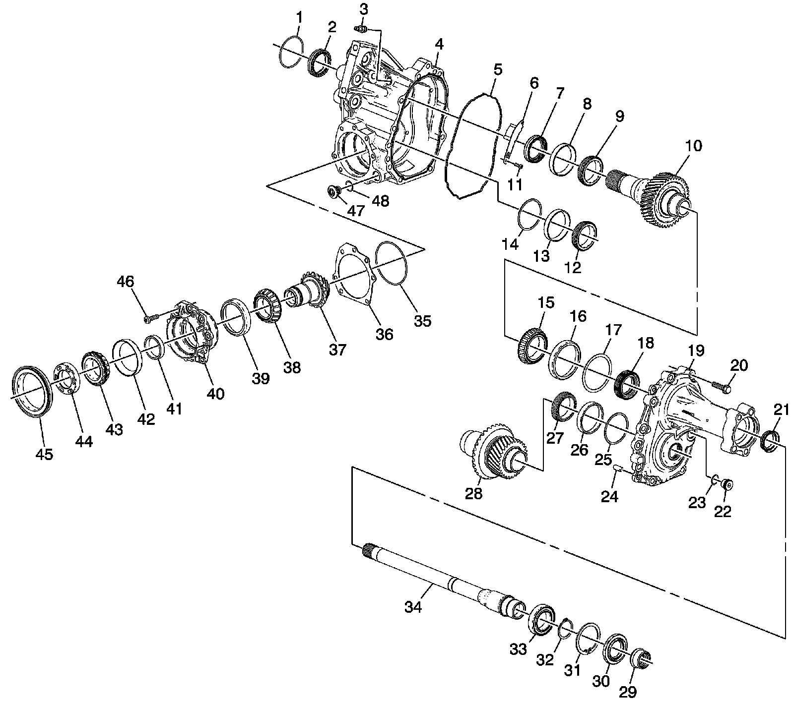
Transfer Case Components (MH4)





1 - Transmission-to-Transfer Case O-ring Seal

2 - Input Shaft Front (outer) Seal

3 - Transfer Case Vent Hose Connector

4 - Transfer Case Housing

5 - Transfer Case Rear Extension Housing-to-Transfer Case Seal

6 - Transfer Case Vent Baffle

7 - Input Shaft Front (inner) Seal

8 - Input Shaft Front Bearing Race

9 - Input Shaft Front Bearing

10 - Input Shaft

11 - Transfer Case Vent Baffle Bolt

12 - Idler Shaft Front Bearing

13 - Idler Shaft Front Bearing Race

14 - Idler Shaft Front Bearing Shim

15 - Input Shaft Rear Bearing

16 - Input Shaft Rear Bearing Race

17 - Input Shaft Rear Bearing Shim

18 - Input Shaft Bearing Retainer Rear Seal

19 - Rear Extension Housing

20 - Transfer Case-to-Rear Extension Housing Bolt

21 - Intermediate Shaft Seal

22 - Transfer Case Fill Plug

23 - Transfer Case Fill Plug Sealing Washer

24 - Transfer Case-to-Rear Extension Housing Locating Pin

25 - Idler Shaft Rear Bearing Shim

26 - Idler Shaft Rear Bearing Race

27 - Idler Shaft Rear Bearing

28 - Idler Shaft

29 - Transfer Case Seal

30 - Intermediate Shaft O-ring Seal - second design

31 - Intermediate Shaft Dirt Deflector - model dependant

32 - Intermediate Shaft Assembly Retaining Ring

33 - Intermediate Shaft Bearing Retaining Ring

34 - Intermediate Shaft Bearing

35 - Intermediate Shaft

36 - Rear Output Shaft Housing O-ring Seal

37 - Rear Output Shaft Shim

38 - Rear Output Shaft

39 - Rear Output Shaft Bearing

40 - Rear Output Shaft Bearing Race

41 - Rear Output Shaft Housing

42 - Rear Output Shaft Bearing Spacer

43 - Rear Output Shaft Bearing Race

44 - Rear Output Shaft Bearing

45 - Rear Output Drive Gear Nut

46 - Rear Output Shaft Seal

47 - Rear Output Shaft Housing Bolt

48 - Transfer Case Drain Plug

49 - Transfer Case Drain Plug Sealing Washer

Transfer Case Seal View





1 - Transfer Case-to-Transmission Seal

Transfer Case Mounting (MXE)





1 - Transfer Case

2 - Transfer Case Bracket Bolt

3 - Transfer Case-to-Transmission Bolt

4 - Transfer Case Bracket

5 - Transfer Case Bracket Bolt

6 - Transfer Case Bracket Bolt

Transfer Case Mounting (MH4)





1 - Transaxle Brace

2 - Transaxle Brace Bolt

3 - Transfer Case Bracket-to-Engine Bolt

4 - Transfer Case Bracket Bolt

5 - Transfer Case Bracket

6 - Transfer Case

7 - Transfer Case-to-Transmission Bolt

8 - Transaxle Brace-to-Engine Bolt

Vent Hose Assembly





1 - Vent Hose Assembly

2 - Strap

3 - Bolt