LEMON Manuals: Even more car manuals for everyone: 1960-2025
Home >> Cadillac >> 2014 >> Escalade Base, AWD >> Repair and Diagnosis >> External Pages >> Different car >> Section 2 (Wiring Systems And Power Management - Component Connector End Views - 1-2 Shift Solenoid To Drive Motor Battery Control Module (X3)) >> Component Connector End Views >> A/C Refrigerant Pressure Sensor (Gas except HP2)
April 5, 2026: LEMON Manuals is launched! Read the announcement.

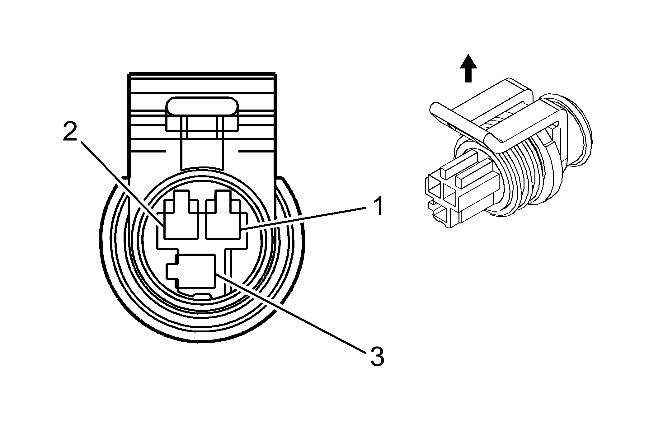
A/C Refrigerant Pressure Sensor (Gas except HP2)

WARNING: This page is about a different car, the 2014 GMC Sierra 3500 HD, 2014 GMC Sierra 2500 HD, 2014 Chevrolet Silverado 3500 HD, and 2014 Chevrolet Silverado 2500 HD. However, it is still accessible from the selected car via links, so may be relevant.
GM1581660Courtesy of GENERAL MOTORS COMPANY
Connector Part Information
  • Harness: Engine
  • OEM: 15397149
  • Service: 88988301
  • Description: 3-Way F GT 150 Sealed (BK)
Terminal Part Information
  • Terminated Lead: 13576360
  • Release Tool: J-38125-553
  • Diagnostic Test Probe: J-35616-2A (GY)
  • Terminal/Tray: 15326267/19
  • Core/Insulation Crimp: E/4
A/C Refrigerant Pressure Sensor (Gas except HP2)

Pin Wire Circuit Function
1 0.35 TN 5514 Low Reference
2 0.35 GY 2700 5-Volt Reference (LU3)
0.35 GY/WH 2700 5-Volt Reference (except LU3)
3 0.35 OG/BK 380 A/C Refrigerant Pressure Sensor Signal