LEMON Manuals: Even more car manuals for everyone: 1960-2025
Home >> Cadillac >> 2014 >> Escalade ESV Base, AWD >> Repair and Diagnosis >> External Pages >> Different car >> Section 3 (Wiring Systems And Power Management - Component Connector End Views - Drive Motor Battery Control Module X4 To Fuel Pump Disable Control Module (LC8)) >> Component Connector End Views >> Engine Oil Level (EOL) Switch (Diesel)
April 5, 2026: LEMON Manuals is launched! Read the announcement.

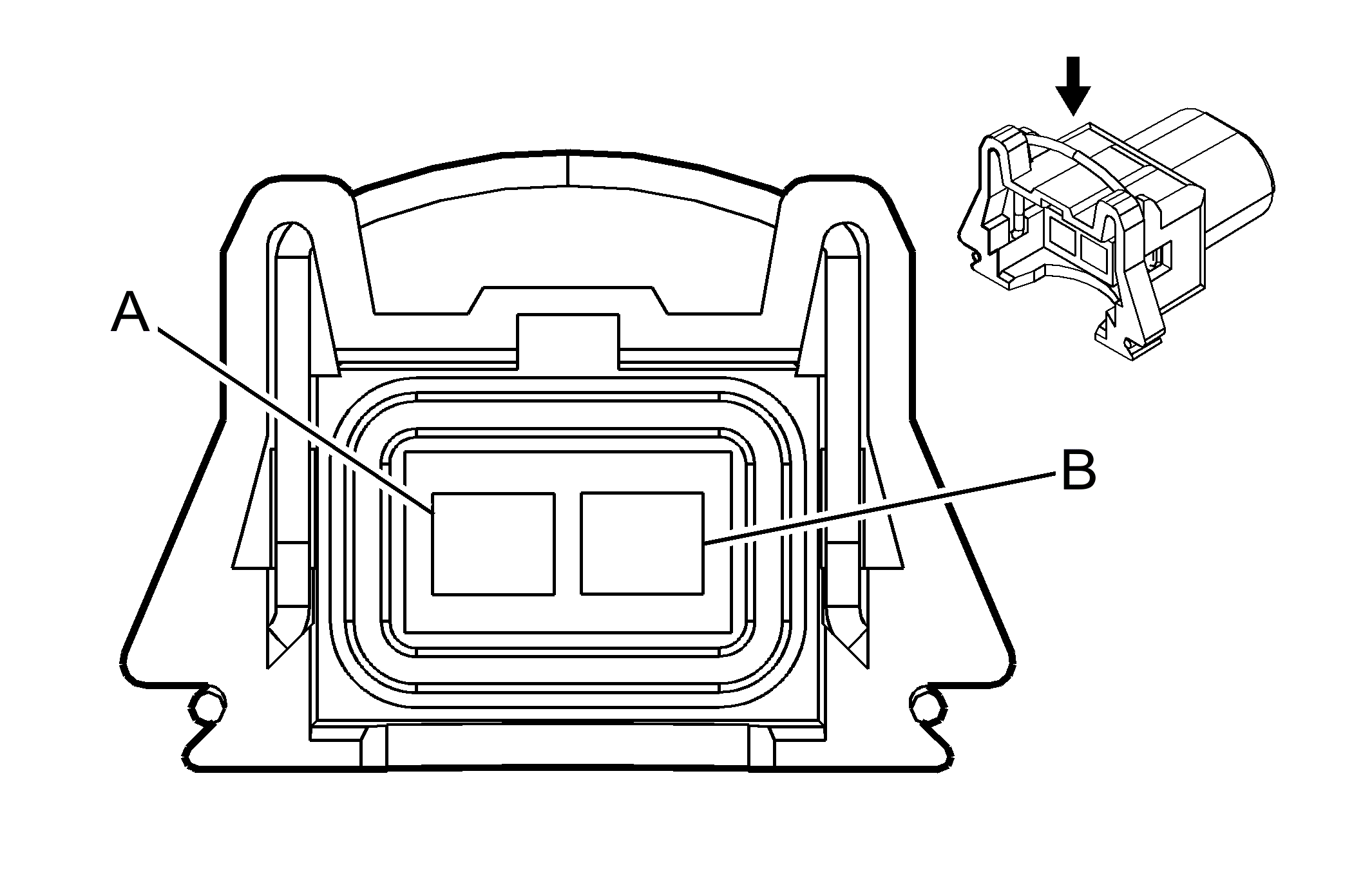
Engine Oil Level (EOL) Switch (Diesel)

WARNING: This page is about a different car, the 2014 GMC Sierra 3500 HD, 2014 GMC Sierra 2500 HD, 2014 Chevrolet Silverado 3500 HD, and 2014 Chevrolet Silverado 2500 HD. However, it is still accessible from the selected car via links, so may be relevant.
GM684833Courtesy of GENERAL MOTORS COMPANY
Connector Part Information
  • Harness Type: Engine Jumper
  • OEM Connector: 12129140
  • Service Connector: 12085491
  • Description: 2-Way F Metri-Pack 280.1 , Pull To Seat (BK)
Terminal Part Information
  • Terminated Lead: Pending
  • Release Tool: J-38125-559
  • Diagnostic Test Probe: J-35616-4A (PU)
  • Terminal/Tray: 12077939/18
  • Core/Insulation Crimp: E/A
Engine Oil Level (EOL) Switch (Diesel)

Pin Wire Circuit Function
A 0.5 BN 1174 Oil Level Switch Signal
B 0.5 BK/WH 451 Ground