LEMON Manuals: Even more car manuals for everyone: 1960-2025
Home >> Cadillac >> 2014 >> Escalade ESV Base, RWD >> Repair and Diagnosis >> External Pages >> Different car >> Section 2 (Wiring Systems And Power Management - Component Connector End Views - 1-2 Shift Solenoid To Drive Motor Battery Control Module (X3)) >> Component Connector End Views >> 2-3 Shift Solenoid (SS) Valve (M30)
April 5, 2026: LEMON Manuals is launched! Read the announcement.

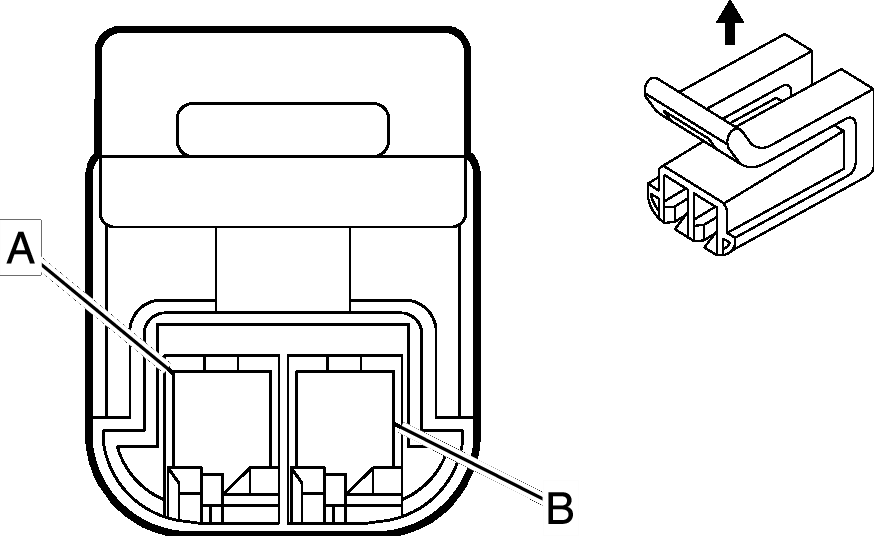
2-3 Shift Solenoid (SS) Valve (M30)

WARNING: This page is about a different car, the 2014 GMC Sierra 3500 HD, 2014 GMC Sierra 2500 HD, 2014 Chevrolet Silverado 3500 HD, and 2014 Chevrolet Silverado 2500 HD. However, it is still accessible from the selected car via links, so may be relevant.
GM1910666Courtesy of GENERAL MOTORS COMPANY
Connector Part Information
  • Harness Type: Transmission
  • OEM Connector: 15473843
  • Service Connector: Service by Harness- See Part Catalog
  • Description: 2-Way F Metri-Pack 150.2 Series (CR)

Terminal Part Information
  • Terminated Lead: Pending
  • Release Tool: J-38125-559
  • Diagnostic Test Probe: J-35616-14 (GN)
  • Terminal/Tray: 12124075/5
  • Core/Insulation Crimp: E/C
2-3 Shift Solenoid (SS) Valve (M30)

Pin Wire Circuit Function
A 0.5 RD 839 Ignition 1 Voltage
B 0.5 YE 1223 2-3 Shift Solenoid Valve Control