LEMON Manuals: Even more car manuals for everyone: 1960-2025
Home >> Cadillac >> 2014 >> XTS Base >> Repair and Diagnosis (Single Page) >> Quick Lookups >> Electrical Component Locations >> Electrical Component Locator - Passenger Compartment/Roof Component Views >> Passenger Compartment/Roof Component Views >> Headliner Components (Except CF5)
April 5, 2026: LEMON Manuals is launched! Read the announcement.

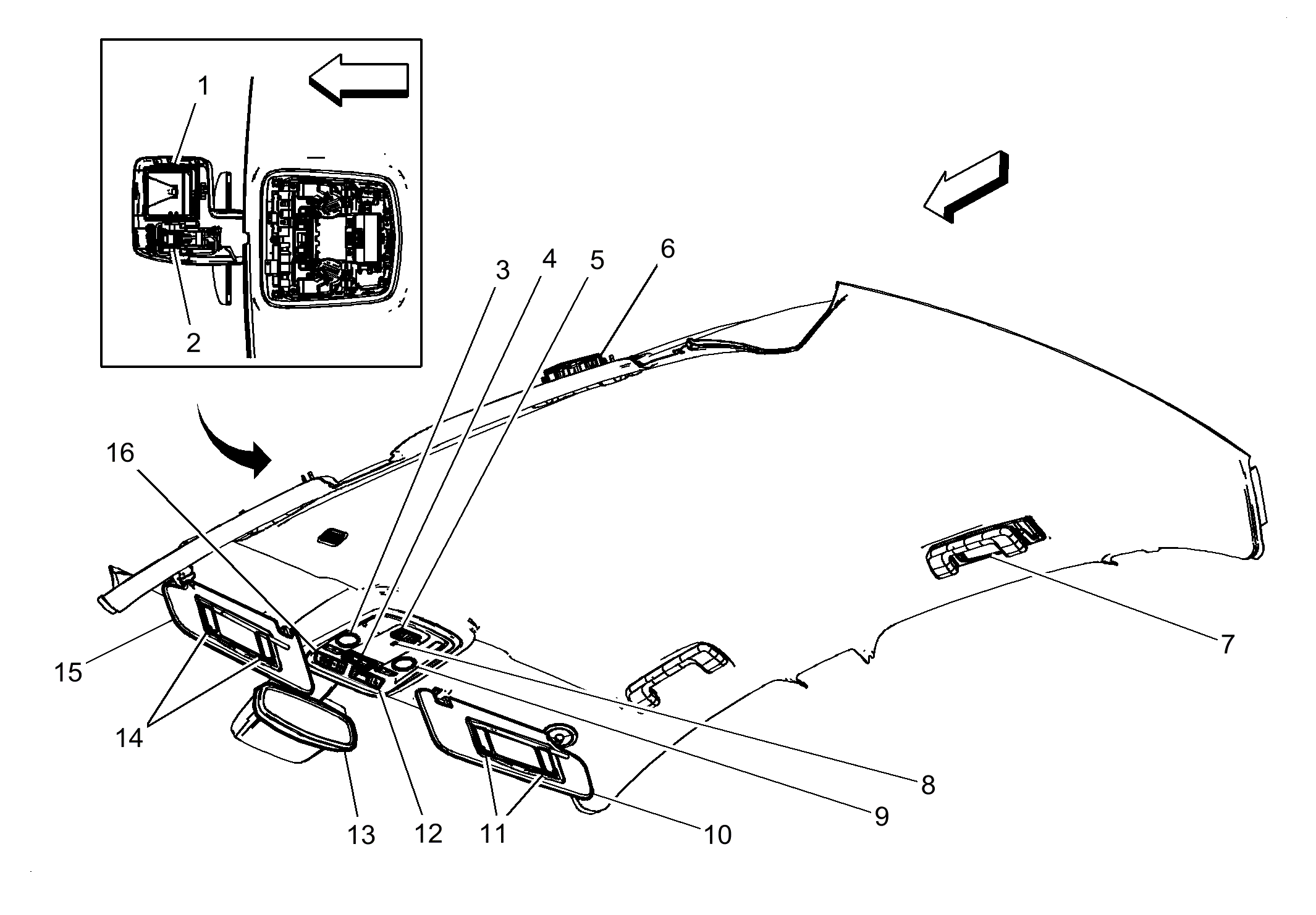
Headliner Components (Except CF5)

Headliner Components (Except CF5)

Items
1:  K109 Frontview Camera Module (UGN) K109 Frontview Camera Module (-UGN)K109 Frontview Camera Module (UGN)
2:  E37LF Dome/Reading Lamps - Left Front E37LF Dome/Reading Lamps - Left Front
3:  S12 Dome Lamp Switch S12 Dome Lamp Switch
4:  S25 Garage Door Opener S25 Garage Door Opener
5:  E37LR Dome/Reading Lamps - Left Rear (TRD)
6:  E37RF Dome/Reading Lamps - Right Front E37RF Dome/Reading Lamps - Right Front
7:  E37RF Dome/Reading Lamps - Right Front E37RF Dome/Reading Lamps - Right Front
8:  E31RF Sunshade Mirror Lamp - Right Front
9:  E37E Dome/Reading Lamps - Front Overhead Console E37E Dome/Reading Lamps - Front Overhead Console
10:  A10 Inside Rearview Mirror (DD8) A10 Inside Rearview Mirror
11:  P14 Passenger Air Bag Disabled Indicator P14 Passenger Air Bag Disable Indicator
12:  E31LF Sunshade Mirror Lamp - Left Front
13:  S51 Telematics Button Assembly (UE1) S51 Telematics Button Assembly (UE1)
14:  B160 Windshield Temperature and Inside Moisture Sensor (CE1) B160 Windshield Temperature and Inside Moisture Sensor (ASV)
Fig 1: Headliner Components (Except CF5)
GM2891069Courtesy of GENERAL MOTORS COMPANY