LEMON Manuals: Even more car manuals for everyone: 1960-2025
Home >> Cadillac >> 2014 >> XTS Base >> Repair and Diagnosis >> External Pages >> Different car >> Section 105 (Wiring Systems And Power Management - Component Connector End Views - K43 (X2) To X85) >> Component Connector End Views - K43 (X2) To X85 >> P17 Info Display Module X3 Connector End View
April 5, 2026: LEMON Manuals is launched! Read the announcement.

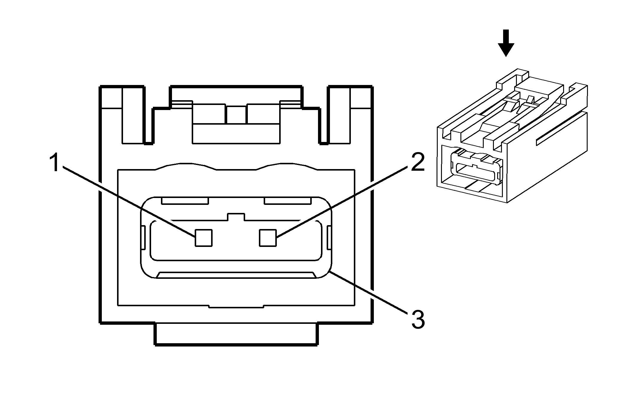
P17 Info Display Module X3 Connector End View

WARNING: This page is about a different car, the 2014 Chevrolet Caprice. However, it is still accessible from the selected car via links, so may be relevant.
GM1974985
Connector Part Information
  • Harness Type: Instrument Panel
  • OEM Connector: 13649293
  • Service Connector: POPA
  • Description: 3-Way F MX38 Series Twinax, Sealed (L-BU)
Terminal Part Information

Terminal Type ID Terminated Lead Diagnostic Test Probe Terminal Removal Tool Service Terminal Tray Core Crimp Insulation Crimp
I Not Available Not Available Not Available Not Available Not Available Not Available Not Available
II Not Available No Tool Required Not Available Not Available Not Available Not Available Not Available
P17 Info Display Module X3 Connector End View

Pin Size Color Circuit Function Terminal Type ID Option
1 0.08
0.08
NA
BU
3365
3366
Navigation Display Drain Wire
Navigation Display Signal (+)
I DA
DA
2-11 - - - Not Occupied - -
L 0.08 BN 3367 Navigation Display Signal (-) II DA