LEMON Manuals: Even more car manuals for everyone: 1960-2025
Home >> Cadillac >> 2015 >> CTS V, Automatic Trans >> Repair and Diagnosis (Single Page) >> Quick Lookups >> Electrical Component Locations >> Electrical Component Locator - Front Of Vehicle/Engine Compartment Component Views (Coupe) >> Front of Vehicle/Engine Compartment Component Views >> Front Fascia Components (except V-Series)
April 5, 2026: LEMON Manuals is launched! Read the announcement.

Front Fascia Components (except V-Series)

Front Fascia Components (except V-Series)

Items
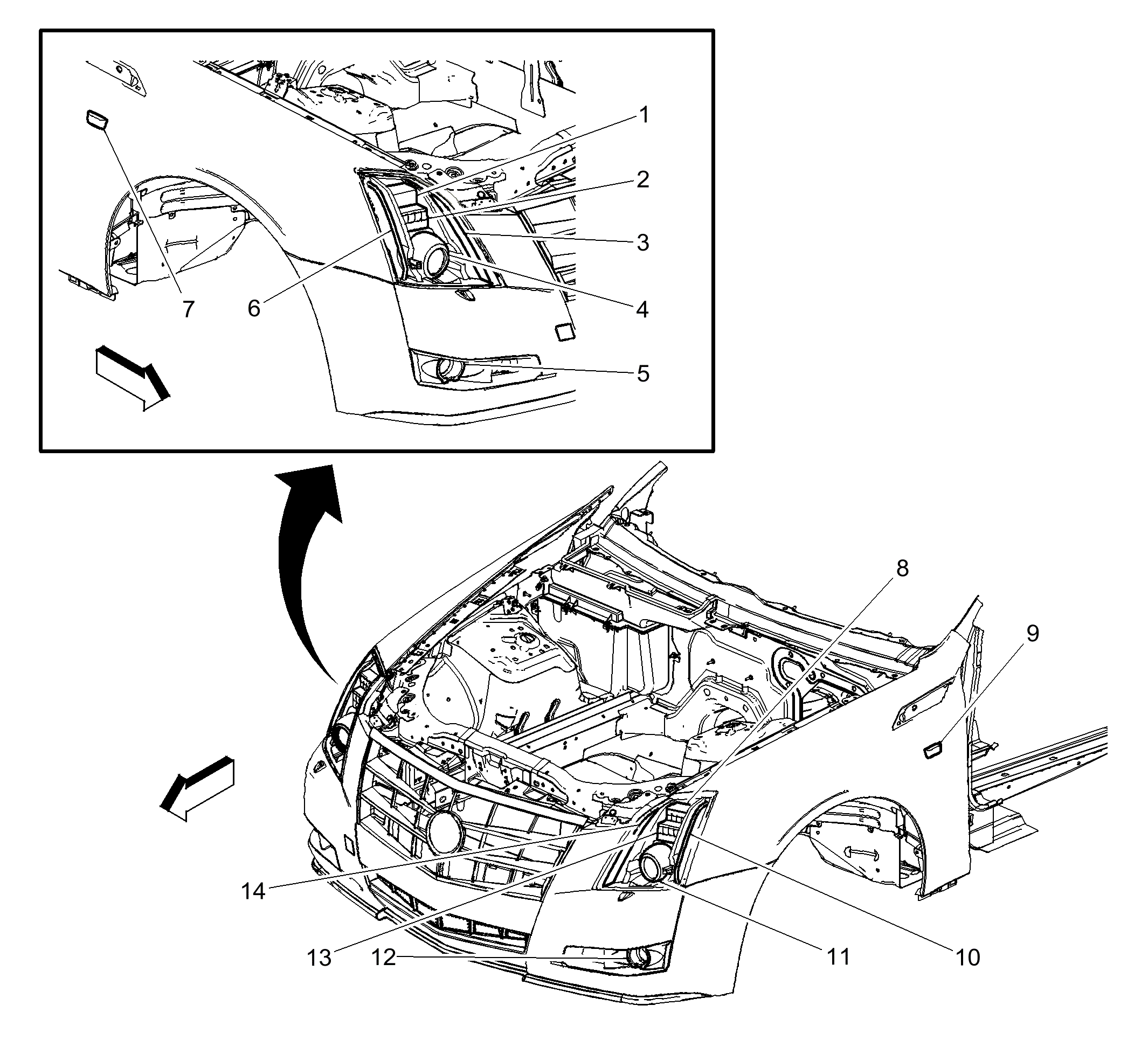
1: E4LF Turn Signal Lamp - Left Front E4LF Turn Signal Lamp - Left Front (T4F)E4LF Turn Signal Lamp - Left Front (without T4F)
2: E4D Daytime Running Lamp - Right (T4F) E4D Daytime Running Lamp - Right (T4F)
3: E2RF Side Marker Lamp - Right Front E2RF Side Marker Lamp - Right Front
4: E4H Headlamp - Right Low Beam (without T4F) E4H Headlamp - Right Low Beam (without T4F)
5: E29RF Fog Lamp - Right Front (T3U) E29RF Fog Lamp - Right Front
6: E4K Park Lamp - Right Front E4K Park Lamp - Right Front
7: E4Z Turn Signal Repeater Lamp - Right (T90) E4Z Turn Signal Repeater Lamp - Right
8: E4LF Turn Signal Lamp - Left Front E4LF Turn Signal Lamp - Left Front (T4F)E4LF Turn Signal Lamp - Left Front (without T4F)
9: E4Y Turn Signal Repeater Lamp - Left (T90) E4Y Turn Signal Repeater Lamp - Left
10: E4J Park Lamp - Left Front E4J Park Lamp - Left Front
11: E4G Headlamp - Left Low Beam (without T4F) E4G Headlamp - Left Low Beam (without T4F)
12: E29LF Fog Lamp - Left Front (T3U) E29LF Fog Lamp - Left Front
13: E4C Daytime Running Lamp - Left (T4F) E4C Daytime Running Lamp - Left (T4F)
14: E2LF Side Marker Lamp - Left Front E2LF Side Marker Lamp - Left Front
Fig 1: Front Fascia Components (except V-Series)
GM2218171Courtesy of GENERAL MOTORS COMPANY