LEMON Manuals: Even more car manuals for everyone: 1960-2025
Home >> Cadillac >> 2015 >> XTS Base >> Repair and Diagnosis (Single Page) >> Quick Lookups >> Wiring Diagrams >> Wiring Systems And Power Management - Component Connector End Views - K104D To P19B >> Component Connector End Views >> K104D Seat Lumbar Support Control Module - Driver
April 5, 2026: LEMON Manuals is launched! Read the announcement.

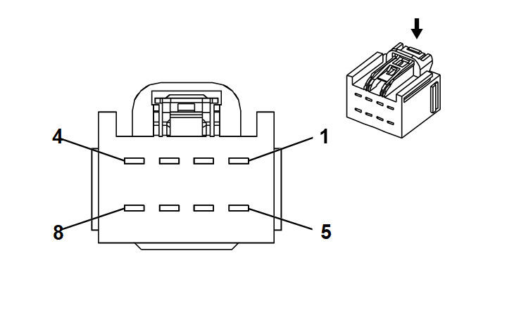
K104D Seat Lumbar Support Control Module - Driver

GM2832199
Connector Part Information
  • Harness Type: Driver Seat Back
  • OEM Connector: 7283-3243-40
  • Service Connector: Service by Harness - See Part Catalog
  • Description: 8-Way F 2.8 Series (L-GY)
Terminal Part Information

Terminal Type ID Terminated Lead Diagnostic Test Probe Terminal Removal Tool Service Terminal Tray Name Core Crimp Insulation Crimp
I Not Required J-35616-35 (VT) No Tool Required Not Required Not Required Not Required Not Required
Pin Size Color Circuit Function Terminal Type ID Option
1 1
1
L-BU
VT
611
385
Driver Power Seat Lumbar Motor Forward Control
Driver Power Seat Lumbar Forward Relay Control
I A44
-A44
2 1
1
YE/BN
YE/BN
768
386
Driver Power Seat Lumbar Motor Up Control
Driver Power Seat Lumbar Motor Up Relay Control
I A44
-A44
3 1 YE 1001 Retained Accessory Power Ignition I -
4 1 WH 1002 RAP Fuse Control I -
5 1
1
VT
GY
610
466
Driver Power Seat Lumbar Motor Rearward Control
Driver Power Seat Lumbar Rearward Relay Control
I 444
-A44
6 1
1
YE/L-BU
YE/L-BU
767
467
Driver Power Seat Lumbar Motor Down Control
Driver Power Seat Lumbar Down Relay Control
I A44
-A44
7 1 OG 1003 Passenger Low Pressure Sensor Signal I -
8 1 L-GN 1004 Left Front Strut Position Signal I -