LEMON Manuals: Even more car manuals for everyone: 1960-2025
Home >> Cadillac >> 2016 >> CTS Base, AWD >> Repair and Diagnosis (Single Page) >> Quick Lookups >> Wiring Diagrams >> Connector End Views & Component Views - Miscellaneous >> Component Connector End Views, Inline Harness Connector End Views & Component Views - Miscellaneous >> Component Connector End Views - Miscellaneous >> Q77B Transmission Control Solenoid Valve 2 (8Lxx)
April 5, 2026: LEMON Manuals is launched! Read the announcement.

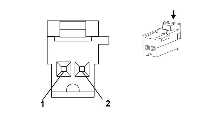
Q77B Transmission Control Solenoid Valve 2 (8Lxx)

GM4008644Courtesy of GENERAL MOTORS COMPANY
Connector Part Information
  • Harness Type: Transmission Control
  • OEM Connector: 13941672
  • Service Connector: Service by Harness - See Part Catalog
  • Description: 2-Way F 0.64 MTS Series (GY)
Terminal Part Information

Terminal Type ID Terminated Lead Diagnostic Test Probe Terminal Removal Tool Service Terminal Tray Core Crimp Insulation Crimp
I Not Available J-35616-64B (LT BU) J-38125-12A Not Available Not Available Not Available Not Available
Pin Size Color Circuit Function Terminal Type ID Option
1 0.5 BU 6401 Clutch B Control I -
2 0.5 GY/BN 6388 Transmission High Side Driver 2 Signal I -