K17 Electronic Brake Control Module
WARNING: This page is about a different car, the 2015 Cadillac CTS. However, it is still accessible from the selected car via links, so may be relevant.
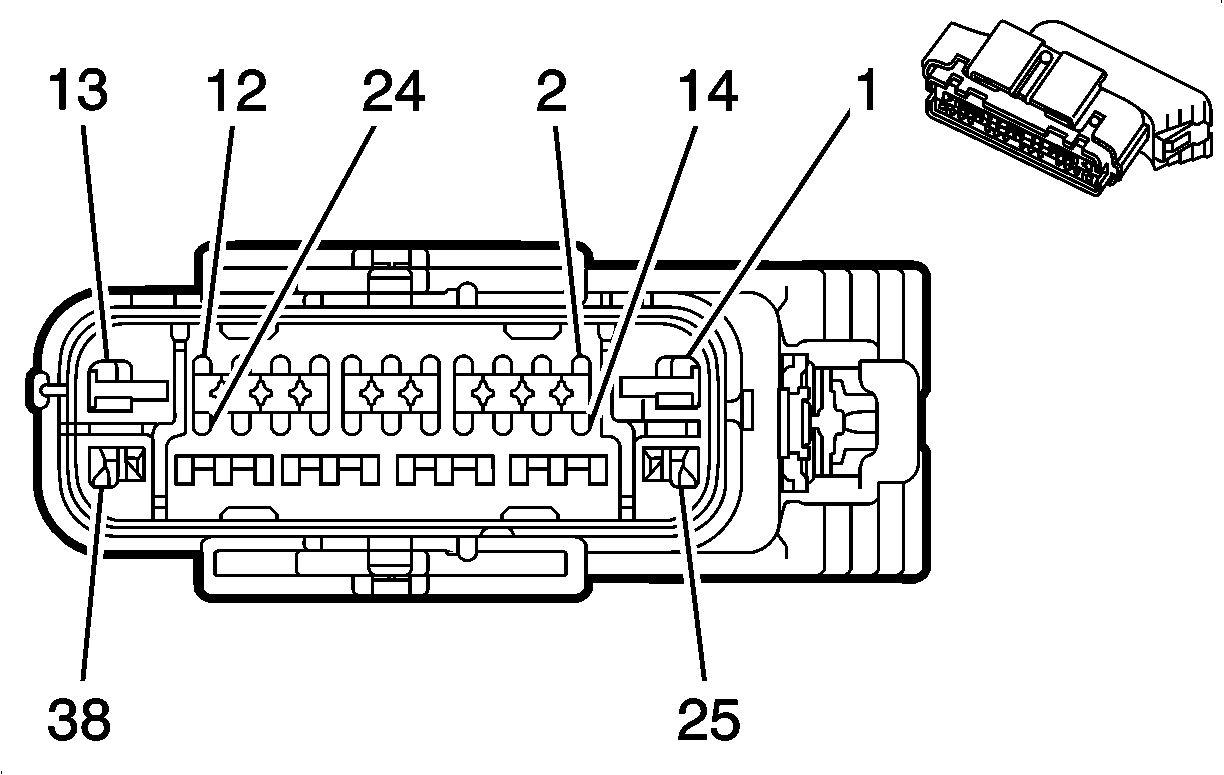
Connector Part Information
|
Terminal Part Information
| Terminal Type ID | Terminated Lead | Diagnostic Test Probe | Terminal Removal Tool | Service Terminal | Tray | Core Crimp | Insulation Crimp |
|---|---|---|---|---|---|---|---|
| I | 13579767 | J-35616-42 (RD) | J-38125-11A | Not Available | Not Available | Not Available | Not Available |
| II | 13578924 | J-35616-64B (LT BU) | J-38125-215A | Not Available | Not Available | Not Available | Not Available |
| III | 13579782 | J-35616-4A (PU) | J-38125-553 | Not Available | Not Available | Not Available | Not Available |
| Pin | Size | Color | Circuit | Function | Terminal Type ID | Option |
|---|---|---|---|---|---|---|
| 1 | 5 | BK | 1150 | Ground | I | LSA or MG9 |
| 2 | 0.5 | WH | 883 | Wheel Speed Sensor Low Reference Right Rear | II | MV7 or MG9 |
| 3 | 0.5 | BN | 882 | Wheel Speed Sensor Signal Right Rear | II | MV7 or MG9 |
| 4 | 0.5 | TN | 884 | Wheel Speed Sensor Signal Left Rear | II | MV7 or MG9 |
| 5 | 0.5 | OG | 885 | Wheel Speed Sensor Low Reference Left Rear | II | MV7 or MG9 |
| 6 | 0.5 | TN | 833 | Wheel Speed Sensor Low Reference Right Front | II | MV7 or MG9 |
| 7-11 | - | - | - | Not Occupied | - | - |
| 12 | 0.5 | L-BU | 5986 | Serial Data Communication Enable | II | MV7 or MG9 |
| 13 | 5 | RD/BK | 42 | Battery Positive Voltage | I | MV7 or MG9 |
| 14 | 0.5 | BN | 1295 | Variable Effort Steering Solenoid Control | II | DN or MG9 |
| 15-16 | - | - | - | Not Occupied | - | - |
| 17 | 0.5 | D-GN | 872 | Wheel Speed Sensor Signal Right Front | II | MV7 or MG9 |
| 18 | 0.5 | GY | 1056 | Steering Wheel Position Sensor 5 Volt Reference | II | MV7 or MG9 |
| 19 | 0.5 | GY/BK | 1337 | Yaw Rate Sensor Volt Reference | II | MV7 or MG9 |
| 20 | - | - | - | Not Occupied | - | - |
| 21 | 0.5 | L-GN/BK | 6432 | CAN Bus Low Serial Data | II | MV7 or MG9 |
| 22 | - | - | - | Not Occupied | - | - |
| 23 | 0.5 0.5 |
TN TN |
2501 2501 |
High Speed GMLAN Serial Data (-) (1) High Speed GMLAN Serial Data (-) (1) |
II | LSA LSA and MG9 |
| 24 | 0.5 | TN | 2501 | High Speed GMLAN Serial Data (-) (1) | II | LSA or MG9 |
| 25 | 2 | BK | 1150 | Ground | III | LSA or MG9 |
| 26 | 0.5 | WH | 1294 | Variable Effort Steering Solenoid Supply Voltage | II | DN or MG9 |
| 27 | - | - | - | Not Occupied | - | - |
| 28 | 0.5 | L-BU | 830 | Wheel Speed Sensor Signal Left Front | II | MV7 or MG9 |
| 29 | 0.5 | YE | 873 | Left Front Wheel Speed Sensor Low Reference | II | MV7 or MG9 |
| 30-32 | - | - | - | Not Occupied | - | - |
| 33 | 0.5 | TN/WH | 6433 | CAN Bus High Serial Data | II | MV7 or MG9 |
| 34-35 | - | - | - | Not Occupied | - | - |
| 36 | 0.5 0.5 |
TN/BK TN/BK |
2500 2500 |
High Speed GMLAN Serial Data (+) (1) High Speed GMLAN Serial Data (+) (1) |
II | LSA LSA and MG9 |
| 37 | 0.5 | TN/BK | 2500 | High Speed GMLAN Serial Data (+) (1) | II | LSA or MG9 |
| 38 | 2 | RD/WH | 240 | Battery Positive Voltage | III | MV7 or MG9 |