LEMON Manuals: Even more car manuals for everyone: 1960-2025
Home >> Cadillac >> 2016 >> XTS Base >> Repair and Diagnosis (Single Page) >> Quick Lookups >> Wiring Diagrams >> Wiring Systems And Power Management - Component Connector End Views - E37LF To K20 X1 LF3 >> Component Connector End Views >> K18 Compass Module
April 5, 2026: LEMON Manuals is launched! Read the announcement.

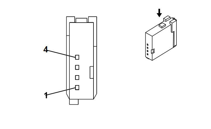
K18 Compass Module

GM2831061
Connector Part Information
  • Harness Type: Body
  • OEM Connector: AIT2PB-04M-1AK
  • Service Connector: 19300398
  • Description: 4-Way F 0.64 Series (BK)
Terminal Part Information

Terminal Type ID Terminated Lead Diagnostic Test Probe Terminal Removal Tool Service Terminal Tray Name Core Crimp Insulation Crimp
I Not Required J-35616-64B (LT BU) No Tool Required Not Required Not Required Not Required Not Required
Pin Size Color Circuit Function Terminal Type ID Option
1 0.35 BN/VT 5486 Run Relay Coil Control I -
2 0.75 BK 550 Ground I -
3 0.35 GN/BU 6133 Local Interconnect Network Serial Data Bus 2 I -
4 - - - Not Occupied - -