LEMON Manuals: Even more car manuals for everyone: 1960-2025
Home >> Cadillac >> 2016 >> XTS Base >> Repair and Diagnosis (Single Page) >> Quick Lookups >> Wiring Diagrams >> Wiring Systems And Power Management - Component Connector End Views - KR14 To P22F X2 >> Component Connector End Views >> P17 Info Display Module X2
April 5, 2026: LEMON Manuals is launched! Read the announcement.

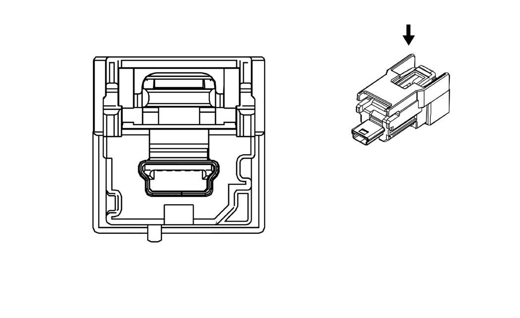
P17 Info Display Module X2

GM2830945
Connector Part Information
  • Harness Type: Instrument Panel USB
  • OEM Connector: 13586009
  • Service Connector: Service by Cable Assembly - See Part Catalog
  • Description: 5-Way M 2.0 Mini-B USB Type (GY)
Terminal Part Information

Terminal Type ID Terminated Lead Diagnostic Test Probe Terminal Removal Tool Service Terminal Tray Name Core Crimp Insulation Crimp
I Not Required No Tool Required No Tool Required Not Required Not Required Not Required Not Required
Pin Size Color Circuit Function Terminal Type ID Option
- - USB - USB Serial Data I -