LEMON Manuals: Even more car manuals for everyone: 1960-2025
Home >> Cadillac >> 2017 >> CT6 Plug-In >> Repair and Diagnosis (Single Page) >> Quick Lookups >> Wiring Diagrams >> Component Connector End Views - B32A To B197 >> Component Connector End Views >> B70 Liftgate Close Switch (TC2/TL9)
April 5, 2026: LEMON Manuals is launched! Read the announcement.

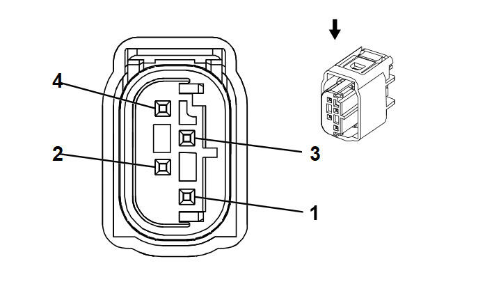
B70 Liftgate Close Switch (TC2/TL9)

GM2173574
Connector Part Information
  • Harness Type: Body
  • OEM Connector: 13679454
  • Service Connector: 13314098
  • Description: 4-Way F 0.64 Micro-Quadlock Series, Sealed (BK)
Terminal Part Information

Terminal Type ID Terminated Lead Diagnostic Test Probe Terminal Removal Tool Service Terminal Tray Name Core Crimp Insulation Crimp
I Not Required J-35616-64B (LT BU) No Tool Required Not Required Not Required Not Required Not Required
Pin Size Color Circuit Function Terminal Type ID Option
1 0.35 BK/VT 5801 Lift Gate Object Sensor Low Reference I -
2 0.35 GY/WH 3034 Lift Gate Shut Face Switch LED Control I -
3 0.35 GN 3033 Lift Gate Shut Face Switch Signal I -
4 0.35 BK/VT 5801 Lift Gate Object Sensor Low Reference I -