LEMON Manuals: Even more car manuals for everyone: 1960-2025
Home >> Cadillac >> 2017 >> CT6 Plug-In >> Repair and Diagnosis >> External Pages >> Different car >> Section 1 (Wiring Systems And Power Management - Component Connector End Views - A3L To E4G) >> Component Connector End Views >> A11 Radio X9
April 5, 2026: LEMON Manuals is launched! Read the announcement.

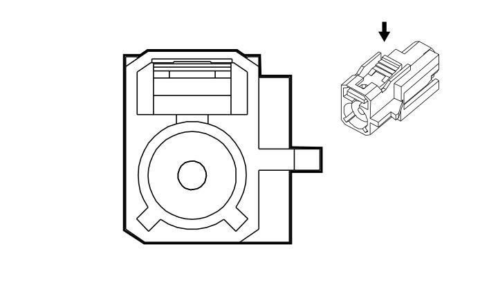
A11 Radio X9

WARNING: This page is about a different car, the 2016 Chevrolet Malibu Limited. However, it is still accessible from the selected car via links, so may be relevant.
GM3633495
Connector Part Information
  • Harness Type: Instrument Panel COAX
  • OEM Connector: 13688678
  • Service Connector: Service by Cable Assembly - See Parts Catalog
  • Description: 1-Way F COAX (YE)
Terminal Part Information

Terminal Type ID Terminated Lead Diagnostic Test Probe Terminal Removal Tool Service Terminal Tray Core Crimp Insulation Crimp
I Not Available Not Available Not Available Not Available Not Available Not Available Not Available
Pin Size Color Circuit Function Terminal Type ID Option
- - COAX - Coaxial Antenna XM Signal I -