LEMON Manuals: Even more car manuals for everyone: 1960-2025
Home >> Cadillac >> 2017 >> CT6 Plug-In >> Repair and Diagnosis >> External Pages >> Different car >> Section 1 (Wiring Systems And Power Management - Component Connector End Views - A3L To E4G) >> Component Connector End Views >> A26 HVAC Controls
April 5, 2026: LEMON Manuals is launched! Read the announcement.

A26 HVAC Controls

WARNING: This page is about a different car, the 2016 Chevrolet Malibu Limited. However, it is still accessible from the selected car via links, so may be relevant.
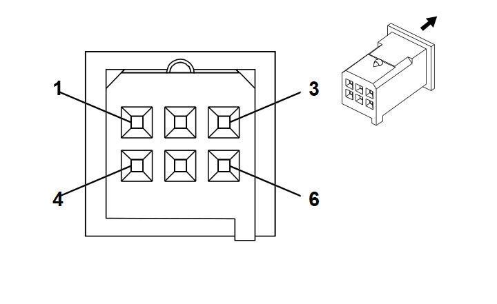
GM1697500
Connector Part Information
  • Harness Type: Instrument Panel
  • OEM Connector: 10768368
  • Service Connector: 88988105
  • Description: 6-Way F 0.64 Micro-Quadlock Series (BK)
Terminal Part Information

Terminal Type ID Terminated Lead Diagnostic Test Probe Terminal Removal Tool Service Terminal Tray Name Core Crimp Insulation Crimp
I Not Required J-35616-64B (LT BU) No Tool Required Not Required Not Required Not Required Not Required
Pin Size Color Circuit Function Terminal Type ID Option
1 0.35 RD/D-BU 3240 Battery Positive Voltage I -
2 0.35 L-GN/YE 7531 Local Interconnect Network Serial Data Bus 9 I -
3 0.35 BK 1750 Ground I -
4 - 6 - - - Not Occupied - -