LEMON Manuals: Even more car manuals for everyone: 1960-2025
Home >> Cadillac >> 2017 >> CT6 Plug-In >> Repair and Diagnosis >> External Pages >> Different car >> Section 1 (Wiring Systems And Power Management - Component Connector End Views - A3L To E4G) >> Component Connector End Views >> B1 A/C Refrigerant Pressure Sensor
April 5, 2026: LEMON Manuals is launched! Read the announcement.

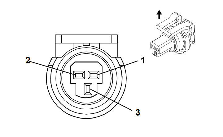
B1 A/C Refrigerant Pressure Sensor

WARNING: This page is about a different car, the 2016 Chevrolet Malibu Limited. However, it is still accessible from the selected car via links, so may be relevant.
GM2909191
Connector Part Information
  • Harness Type: Cooling Fan
  • OEM Connector: 13846842
  • Service Connector: Service by Harness - See Part Catalog
  • Description: 3-Way F 150 GT Series, Sealed (BK)
Terminal Part Information

Terminal Type ID Terminated Lead Diagnostic Test Probe Terminal Removal Tool Service Terminal Tray Name Core Crimp Insulation Crimp
I Not Required J-35616-14 (GN) No Tool Required Not Required Not Required Not Required Not Required
Pin Size Color Circuit Function Terminal Type ID Option
1 0.5 BK/BN 5514 A/C Refrigerant Pressure Sensor Low Reference I -
2 0.5 BN/RD 2700 A/C Pressure Sensor 5V Reference I -
3 0.5 L-GN 380 A/C Refrigerant Pressure Sensor Signal I -