LEMON Manuals: Even more car manuals for everyone: 1960-2025
Home >> Cadillac >> 2017 >> CT6 Plug-In >> Repair and Diagnosis >> External Pages >> Different car >> Section 1 (Wiring Systems And Power Management - Component Connector End Views - A3L To E4G) >> Component Connector End Views >> B20 Brake Fluid Level Switch
April 5, 2026: LEMON Manuals is launched! Read the announcement.

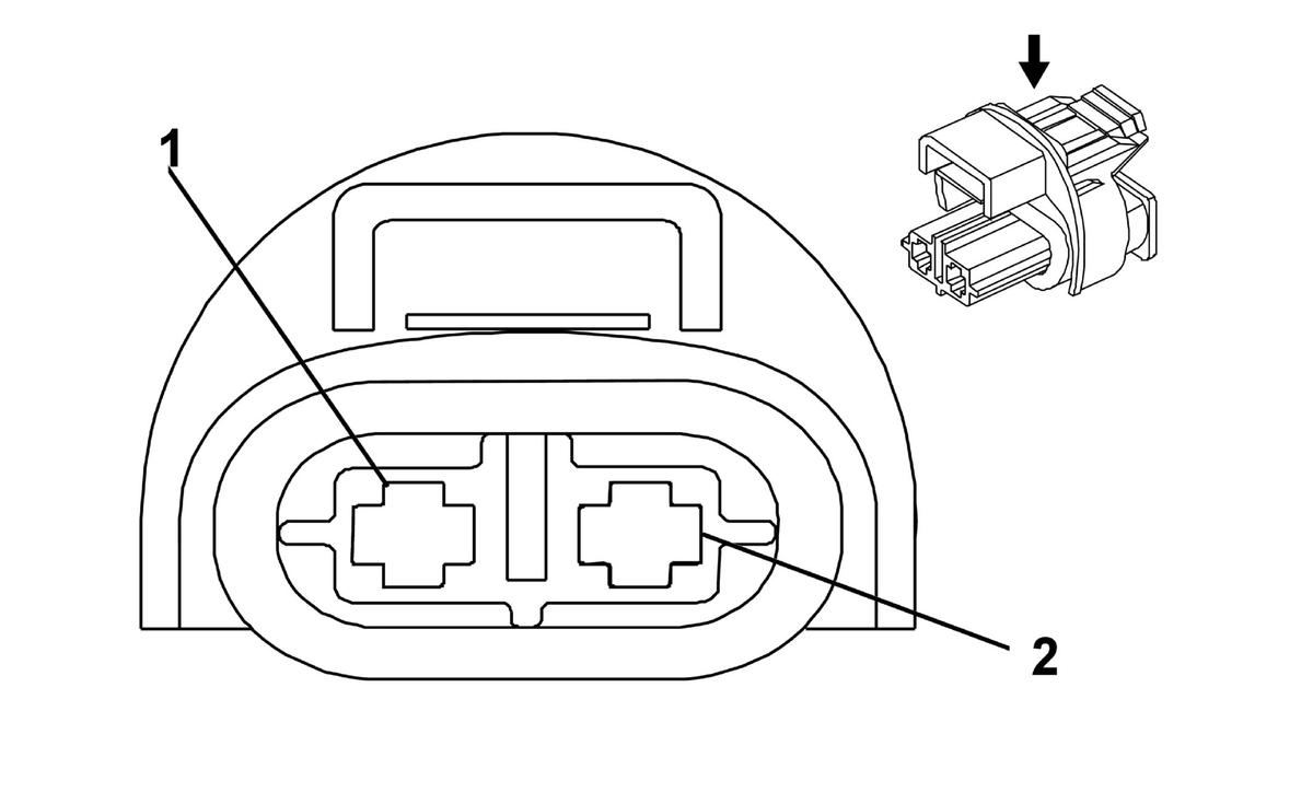
B20 Brake Fluid Level Switch

WARNING: This page is about a different car, the 2016 Chevrolet Malibu Limited. However, it is still accessible from the selected car via links, so may be relevant.
GM2039635
Connector Part Information
  • Harness Type: Body
  • OEM Connector: 13548105
  • Service Connector: 13585855
  • Description: 2-Way F 1.2 Timer Series, Sealed (BK)
Terminal Part Information

Terminal Type ID Terminated Lead Diagnostic Test Probe Terminal Removal Tool Service Terminal Tray Name Core Crimp Insulation Crimp
I Not Required J-35616-14 (GN) No Tool Required Not Required Not Required Not Required Not Required
Pin Size Color Circuit Function Terminal Type ID Option
1 0.5 L-GN/GY 333 Brake Fluid Level Sensor Signal I -
2 0.5 BK 850 Ground I -