LEMON Manuals: Even more car manuals for everyone: 1960-2025
Home >> Cadillac >> 2017 >> CT6 Plug-In >> Repair and Diagnosis >> External Pages >> Different car >> Section 1 (Wiring Systems And Power Management - Component Connector End Views - A3L To E4G) >> Component Connector End Views >> B68B Knock Sensor 2
April 5, 2026: LEMON Manuals is launched! Read the announcement.

B68B Knock Sensor 2

WARNING: This page is about a different car, the 2016 Chevrolet Malibu Limited. However, it is still accessible from the selected car via links, so may be relevant.
GM2717073
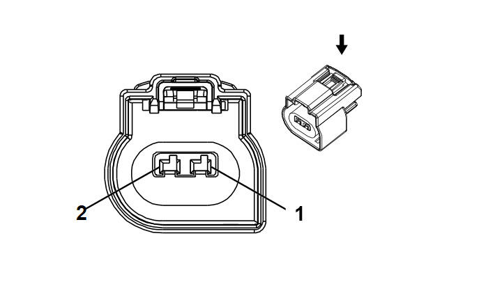
Connector Part Information
  • Harness Type: Engine
  • OEM Connector: 13814755
  • Service Connector: 19301207
  • Description: 2-Way F 150 MX Series, Sealed (BK)
Terminal Part Information

Terminal Type ID Terminated Lead Diagnostic Test Probe Terminal Removal Tool Service Terminal Tray Name Core Crimp Insulation Crimp
I Not Required J-35616-2A (GY) No Tool Required Not Required Not Required Not Required Not Required
Pin Size Color Circuit Function Terminal Type ID Option
1 0.75 WH/GY 1876 Knock Sensor Signal 2 I -
2 0.75 BK/GY 2303 Knock Sensor Low Reference 2 I -