LEMON Manuals: Even more car manuals for everyone: 1960-2025
Home >> Cadillac >> 2017 >> XT5 Base >> Repair and Diagnosis (Single Page) >> Quick Lookups >> Wiring Diagrams >> Component Connector End Views - K39 X1 To M32 >> Component Connector End Views >> K74 Human Machine Interface Control Module X3
April 5, 2026: LEMON Manuals is launched! Read the announcement.

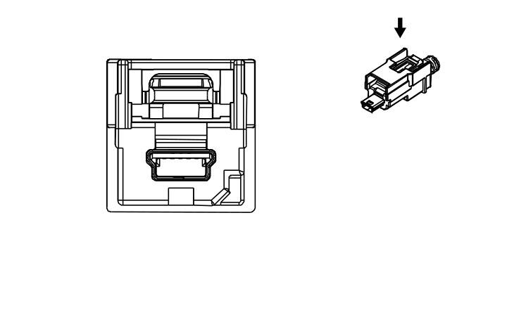
K74 Human Machine Interface Control Module X3

GM2807425
Connector Part Information
  • Harness Type: Instrument Panel
  • OEM Connector: 13576672
  • Service Connector: Service by Cable Assembly - See Part Catalog
  • Description: 5-Way M 2.0 Mini-B USB Type (GY)
Terminal Part Information

Terminal Type ID Terminated Lead Diagnostic Test Probe Terminal Removal Tool
I Not Required No Tool Required No Tool Required
Pin Size Color Circuit Function Terminal Type ID Option
- - USB - USB Serial Data I -