LEMON Manuals: Even more car manuals for everyone: 1960-2025
Home >> Cadillac >> 2017 >> XT5 Base >> Repair and Diagnosis (Single Page) >> Quick Lookups >> Wiring Diagrams >> Component Connector End Views - K9 X2 To K38 >> Component Connector End Views >> K20 Engine Control Module X2
April 5, 2026: LEMON Manuals is launched! Read the announcement.

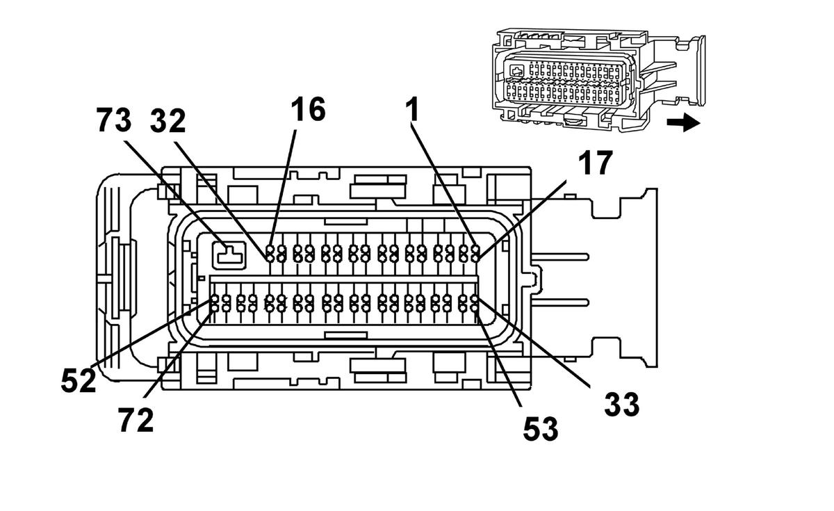
K20 Engine Control Module X2

GM1590592
Connector Part Information
  • Harness Type: Engine
  • OEM Connector: 12582677
  • Service Connector: 88988931
  • Description: 73-Way F 0.64, 2.8 Series, Sealed (BK)
Terminal Part Information

Terminal Type ID Terminated Lead Diagnostic Test Probe Terminal Removal Tool Service Terminal Tray Name Core Crimp Insulation Crimp
I 13576392 J-35616-4A (PU) J-38125-11A Not Available Not Available Not Available Not Available
II 19330179 J-35616-64B (LT BU) J-38125-12A Not Available Not Available Not Available Not Available
Pin Size Color Circuit Function Terminal Type ID Option
1 0.5 GY/WH 3122 Heated Oxygen Sensor Heater Low Control Bank 1 Sensor 2 II -
2 0.5 WH/BN 3223 Heated Oxygen Sensor Heater Low Control Bank 2 Sensor 2 II -
3 - 6 - - - Not Occupied - -
7 0.75 GN/PU 4621 Local Interconnect Network Serial Data Bus 21 II -
8 - - - Not Occupied - -
9 0.5 BN/GN 1174 Oil Level Switch Signal II -
10 - - - Not Occupied - -
11 0.5 YE/BN 331 Oil Pressure Sensor Signal II -
12 0.5 BK/BN 2761 Coolant Temperature Sensor Low Reference II -
13 - 16 - - - Not Occupied - -
17 0.5 GY/WH 3113 Heated Oxygen Sensor Heater Low Control Bank 1 Sensor 1 II -
18 0.5 GN/YE 3212 Heated Oxygen Sensor Heater Low Control Bank 2 Sensor 1 II -
19 - 20 - - - Not Occupied - -
21 0.5 BU/WH 1937 Secondary Fuel Level Sensor Signal II F48
22 0.5 BU/PU 1589 Primary Fuel Level Sensor Signal II -
23 - 26 - - - Not Occupied - -
27 0.5 WH/RD 2705 Oil Pressure Sensor 5V Reference II -
28 0.5 PU/BU 5294 Powertrain Main Relay Fused Supply 5 II -
29 - 34 - - - Not Occupied - -
35 0.5 WH/BK 3111 Heated Oxygen Sensor Low Signal Bank 1 Sensor 1 II -
36 0.5 YE/WH 3211 Heated Oxygen Sensor Low Signal Bank 2 Sensor 1 II -
37 0.5 WH/YE 3121 Heated Oxygen Sensor Low Signal Bank 1 Sensor 2 II -
38 0.5 YE/BU 3221 Heated Oxygen Sensor Low Signal Bank 2 Sensor 2 II -
39 0.5 BK/YE 1716 Knock Sensor Low Reference 1 II -
40 0.5 BK/GY 2303 Knock Sensor Low Reference 2 II -
41 - - - Not Occupied - -
42 0.5 YE/WH 3200 Throttle Inlet Absolute Pressure Sensor Signal II -
43 0.5 WH/RD 3201 Throttle Inlet Absolute Pressure Sensor 5V Reference II -
44 - 45 - - - Not Occupied - -
46 0.5 YE/RD 2709 Fuel Tank Pressure Sensor 5V Reference II -
47 0.5 GY/RD 2704 Manifold Absolute Pressure Sensor 5V Reference II -
48 0.5 BK/GN 469 Manifold Absolute Pressure Sensor Low Reference II -
49 - 50 - - - Not Occupied - -
51 0.5 BK/PU 2755 Oil Pressure Sensor Low Reference II -
52 0.5 BN/WH 582 Throttle Actuator Control Close II -
53 - 54 - - - Not Occupied - -
55 0.5 PU/GY 3110 Heated Oxygen Sensor High Signal Bank 1 Sensor 1 II -
56 0.5 PU/WH 3210 Heated Oxygen Sensor High Signal Bank 2 Sensor 1 II -
57 0.5 PU/BU 3120 Heated Oxygen Sensor High Signal Bank 1 Sensor 2 II -
58 0.5 PU/GN 3220 Heated Oxygen Sensor High Signal Bank 2 Sensor 2 II -
59 0.5 PU/GY 496 Knock Sensor Signal 1 II -
60 0.5 WH/GY 1876 Knock Sensor Signal 2 II -
61 - 62 - - - Not Occupied - -
63 0.5 WH/YE 3202 Throttle Inlet Absolute Pressure Sensor Low Reference II -
64 - 66 - - - Not Occupied - -
67 0.5 GN/WH 432 Manifold Absolute Pressure Sensor Signal II -
68 - 69 - - - Not Occupied - -
70 0.5 WH/BU 6289 Induction Air Temperature Sensor Signal II -
71 - - - Not Occupied - -
72 0.5 YE 581 Throttle Actuator Control Open II -
73 2.5 BK/WH 451 Signal Ground I -