LEMON Manuals: Even more car manuals for everyone: 1960-2025
Home >> Cadillac >> 2017 >> XTS Base >> Repair and Diagnosis (Single Page) >> Quick Lookups >> Wiring Diagrams >> Component Connector End Views - K33 To K83 >> Component Connector End Views >> K40P Seat Memory Control Module - Passenger X2
April 5, 2026: LEMON Manuals is launched! Read the announcement.

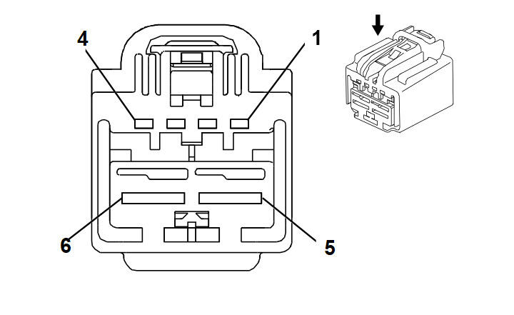
K40P Seat Memory Control Module - Passenger X2

GM1798802
Connector Part Information
  • Harness Type: Passenger Seat Cushion
  • OEM Connector: 7283-9749-30
  • Service Connector: Service by Harness - See Part Catalog
  • Description: 6-Way F YESC Kaizen Series (BK)
Terminal Part Information

Terminal Type ID Terminated Lead Diagnostic Test Probe Terminal Removal Tool Service Terminal Tray Name Core Crimp Insulation Crimp
I Not Required J-35616-14 (GN) No Tool Required Not Required Not Required Not Required Not Required
II Not Required J-35616-42 (RD) No Tool Required Not Required Not Required Not Required Not Required
Pin Size Color Circuit Function Terminal Type ID Option
1 0.35 GN 5060 Low Speed GMLAN Serial Data I -
2 - 3 - - - Not Occupied - -
4 0.35 GN/GY 3758 Local Interconnect Network Serial Data Bus 13 I -
5 1.5 BK 2050 Ground II -
6 - - - Not Occupied - -