LEMON Manuals: Even more car manuals for everyone: 1960-2025
Home >> Cadillac >> 2017 >> XTS Base >> Repair and Diagnosis (Single Page) >> Quick Lookups >> Wiring Diagrams >> Component Connector End Views - K33 To K83 >> Component Connector End Views >> K43 Power Steering Control Module X2 (NJ2)
April 5, 2026: LEMON Manuals is launched! Read the announcement.

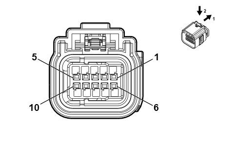
K43 Power Steering Control Module X2 (NJ2)

GM2748051
Connector Part Information
  • Harness Type: Engine
  • OEM Connector: 3-2098269-8
  • Service Connector: 19299774
  • Description: 10-Way F 0.64 Series, Sealed (BK)
Terminal Part Information

Terminal Type ID Terminated Lead Diagnostic Test Probe Terminal Removal Tool Service Terminal Tray Name Core Crimp Insulation Crimp
I 19300631 J-35616-64B (LT BU) J-38125-12A Not Available Not Available Not Available Not Available
Pin Size Color Circuit Function Terminal Type ID Option
1 0.5 BU/YE 6105 High Speed GMLAN Serial Data (+) 2 I -
2 0.5 WH 6106 High Speed GMLAN Serial Data (-) 2 I -
3 0.5 BU 2500 High Speed GMLAN Serial Data (+) 1 I -
4 0.5 WH 2501 High Speed GMLAN Serial Data (-) 1 I -
5 0.5 WH/BU 5986 Serial Data Communication Enable I -
6 0.5 BU/YE 6105 High Speed GMLAN Serial Data (+) 2 I -
7 0.5 WH 6106 High Speed GMLAN Serial Data (-) 2 I -
8 0.5 BU 2500 High Speed GMLAN Serial Data (+) 1 I -
9 0.5 WH 2501 High Speed GMLAN Serial Data (-) 1 I -
10 - - - Not Occupied - -