LEMON Manuals: Even more car manuals for everyone: 1960-2025
Home >> Cadillac >> 2018 >> CT6 Plug-In >> Repair and Diagnosis (Single Page) >> Quick Lookups >> Wiring Diagrams >> Component Connector End Views (A4-B52F) >> Component Connector End Views >> B10B Ambient Light/Sunload Sensor
April 5, 2026: LEMON Manuals is launched! Read the announcement.

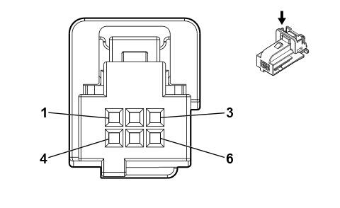
B10B Ambient Light/Sunload Sensor

GM2282896Courtesy of GENERAL MOTORS COMPANY
Connector Part Information
  • Harness Type: Instrument Panel
  • OEM Connector: 15338980
  • Service Connector: 19333315
  • Description: 6-Way F 0.64 Micro-Quadlock Series (BK)
Terminal Part Information

Terminal Type ID Terminated Lead Diagnostic Test Probe Terminal Removal Tool Service Terminal Tray Name Core Crimp Insulation Crimp
I Not Required J-35616-64B (LT BU) No Tool Required Not Required Not Required Not Required Not Required
Pin Size Color Circuit Function Terminal Type ID Option
1 0.35
0.13
BK
GY
1350
590
Ground
Solar Sensor Driver Signal
I
I
HP9
-HP9
2 0.35 GN/WH 4115 Local Interconnect Network Serial Data Bus 15 I -
3 0.35
0.13
YE/VT
WH
3956
278
Charging Status Indicator Control
Ambient Light Sensor Signal
I
I
HP9
-HP9
4 0.35
0.13
GY/GN
BU
3957
734
Charging Pilot Signal Indicator Control
Inside Air Temperature Sensor Signal
I
I
HP9
-HP9
5 0.35
0.13
RD/VT
GY
3340
728
Battery Positive Voltage
Security Indicator Control
I
I
HP9
-HP9
6 0.35
0.13
BK
GN
1350
7567
Ground
Solar Sensor Low Reference
I
I
HP9
-HP9