LEMON Manuals: Even more car manuals for everyone: 1960-2025
Home >> Cadillac >> 2018 >> CT6 Plug-In >> Repair and Diagnosis (Single Page) >> Quick Lookups >> Wiring Diagrams >> Component Connector End Views (B55-C3) >> Component Connector End Views >> B166LF Advanced Parking Assist Side Object Sensor - Left Front
April 5, 2026: LEMON Manuals is launched! Read the announcement.

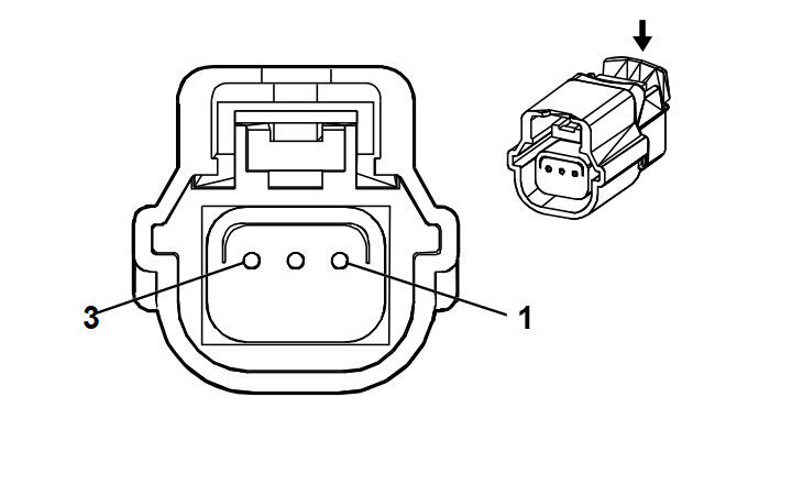
B166LF Advanced Parking Assist Side Object Sensor - Left Front

GM1846469Courtesy of GENERAL MOTORS COMPANY
Connector Part Information
  • Harness Type: Front Fascia
  • OEM Connector: 13512481
  • Service Connector: Service by Harness - See Part Catalog
  • Description: 3-Way F 0.64 Series, Sealed (BK)
Terminal Part Information

Terminal Type ID Terminated Lead Diagnostic Test Probe Terminal Removal Tool Service Terminal Tray Name Core Crimp Insulation Crimp
I Not Required J-35616-64B (LT BU) No Tool Required Not Required Not Required Not Required Not Required
Pin Size Color Circuit Function Terminal Type ID Option
1 0.35 BN 6581 Front Parking Aid Display Control I -
2 0.35 GY 3154 Left Front Supplemental Object Sensor Signal I -
3 0.35 BK/BU 5214 Front Parking Sensor Low Reference I -