LEMON Manuals: Even more car manuals for everyone: 1960-2025
Home >> Cadillac >> 2018 >> CT6 Plug-In >> Repair and Diagnosis (Single Page) >> Quick Lookups >> Wiring Diagrams >> Component Connector End Views (K56-K124A) >> Component Connector End Views >> K69 Transfer Case Control Module X1
April 5, 2026: LEMON Manuals is launched! Read the announcement.

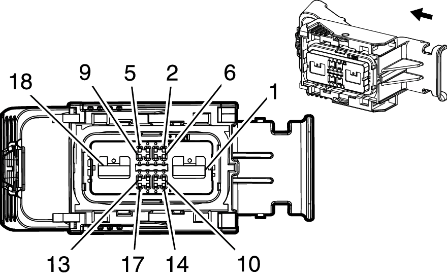
K69 Transfer Case Control Module X1

GM4231478Courtesy of GENERAL MOTORS COMPANY
Connector Part Information
  • Harness Type: Engine
  • OEM Connector: 33201917
  • Service Connector: 19333331
  • Description: 18-Way F 0.64, 6.3 Series (BK with BU Terminal Position Assurance)
Terminal Part Information

Terminal Type ID Terminated Lead Diagnostic Test Probe Terminal Removal Tool Service Terminal Tray Name Core Crimp Insulation Crimp
I 13575812 J-35616-64B (LT BU) J-38125-213 Not Available Not Available Not Available Not Available
II 19333306 J-35616-42 (RD) J-38125-11A Not Available Not Available Not Available Not Available
Pin Size Color Circuit Function Terminal Type ID Option
1 6 RD/WH 640 Battery Positive Voltage II -
2 0.5 WH 2501 High Speed GMLAN Serial Data (-) 1 I -
3 0.5 BU 2500 High Speed GMLAN Serial Data (+) 1 I -
4 - - - Not Occupied - -
5 0.5 VT/YE 5985 Accessory Wakeup Serial Data I -
6 0.5 WH 2501 High Speed GMLAN Serial Data (-) 1 I -
7 0.5 BU 2500 High Speed GMLAN Serial Data (+) 1 I -
8 - - - Not Occupied - -
9 0.5 VT/BK 2139 Run/Crank Ignition 1 Voltage I -
10 - 17 - - - Not Occupied - -
18 6 BK/WH 751 Signal Ground II -