LEMON Manuals: Even more car manuals for everyone: 1960-2025
Home >> Cadillac >> 2018 >> CTS Base, AWD >> Repair and Diagnosis (Single Page) >> Electrical >> Charging Systems >> Battery, Charging System And Starting System >> Repair Instructions >> Multifunction Energy Storage Capacitor Control Module Replacement (KL9) >> Installation Procedure
April 5, 2026: LEMON Manuals is launched! Read the announcement.

Installation Procedure

  1. GM4087156Courtesy of GENERAL MOTORS COMPANY

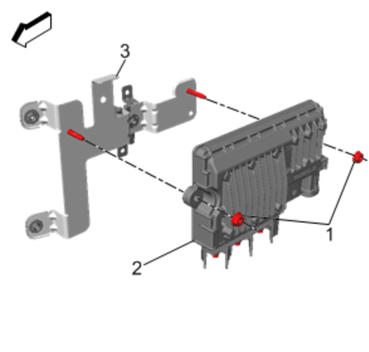
    Multifunction Energy Storage Capacitor Control Module (2) - Install

  2. CAUTION:

    Refer to Fastener Caution .

  3. Multifunction Energy Storage Capacitor Control Module Nut (1) - Install and tighten to 9 N.m (80 lb in) [2x]
  4. GM4087151Courtesy of GENERAL MOTORS COMPANY

    Auxiliary Generator Battery Jumper Cable (2) - Install [3x]

  5. Auxiliary Generator Battery Jumper Cable Nut (1) - Install and tighten to 12 N.m (106 lb in) [3x]
  6. Connect the electrical connectors. (3)
  7. GM4087148Courtesy of GENERAL MOTORS COMPANY

    Multifunction Energy Storage Capacitor Control Module Bracket (2) - Install

  8. Multifunction Energy Storage Capacitor Control Module Bracket Bolt (1) - Install and tighten to 9 N.m (80 lb in) [2x]
  9. Multifunction Energy Storage Capacitor Control Module Bracket Bolt (3) - Install and tighten [2x] to 9 N.m (80 lb in)
  10. GM4262463Courtesy of GENERAL MOTORS COMPANY

    {If equipped} Active Safety Control Module Bracket (2) - Install

  11. {If equipped} Active Safety Control Module Bracket Bolt (1) - Install and tighten to 2.5 N.m (22 lb in)
  12. Rear Compartment Side Trim Replacement - Left Side - Install
  13. Connect the negative battery cable. Battery Negative Cable Disconnection and Connection (with KL9) .
  14. Perform Stop/Start Capacitor Control State Health Reset. Stop/Start Capacitor Control State of Health Reset