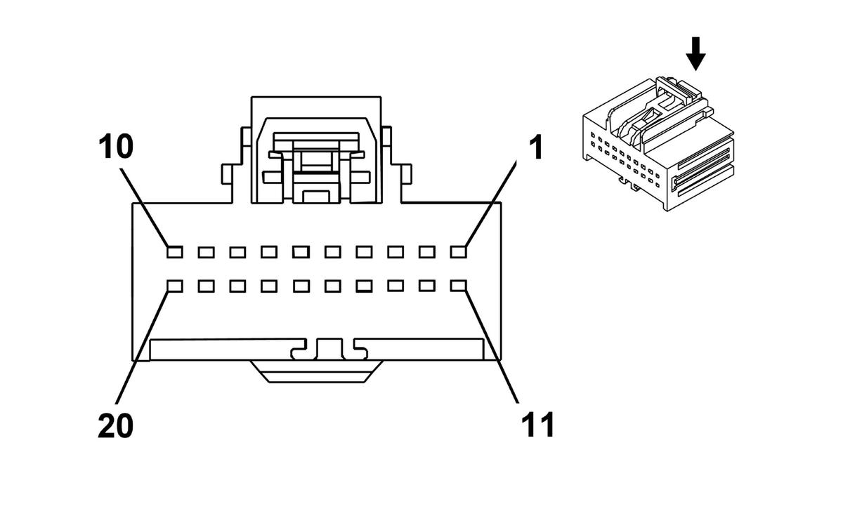
K84 Keyless Entry Control Module X1
Courtesy of GENERAL MOTORS COMPANY
|
Connector Part Information
- Harness Type: Body
- OEM Connector: 13584268
- Service Connector: 13584268
- Description: 20-Way F Kaizen Series (BN)
|
Terminal Part Information
| Terminal Type ID |
Terminated Lead |
Diagnostic Test Probe |
Terminal Removal Tool |
Service Terminal |
Tray Name |
Core Crimp |
Insulation Crimp |
| I |
13575742 |
J-35616-64B (LT BU) |
J-38125-215A |
Not Available |
Not Available |
Not Available |
Not Available |
| Pin |
Size |
Color |
Circuit |
Function |
Terminal Type ID |
Option |
| 1 |
0.35 |
GN/VT |
1601 |
Steering Column Lock Signal |
I |
ULS |
| 2 |
0.5 |
RD/YE |
4340 |
Battery Positive Voltage |
I |
- |
| 3 |
0.35 |
GN |
5060 |
Low Speed GMLAN Serial Data |
I |
- |
| 4 |
- |
- |
- |
Not Occupied |
- |
- |
| 5 |
0.35 |
VT/YE |
4 |
Accessory Ignition Voltage |
I |
- |
| 6 |
- |
- |
- |
Not Occupied |
- |
- |
| 7 |
0.35 |
GY/GN |
4083 |
RAP Relay 2 Coil Control |
I |
- |
| 8 |
- |
- |
- |
Not Occupied |
- |
- |
| 9 |
0.35 |
WH/YE |
3574 |
Driver Door Open Switch Signal |
I |
ULS |
| 10 |
0.35 |
YE/BU |
4086 |
Pushbutton Start Challenge Active Signal |
I |
- |
| 11 |
0.35 |
GN/BK |
3558 |
Passive Start Switch Signal 2 |
I |
- |
| 12 |
0.35 |
BK/GY |
3559 |
Passive Start Switch 2 Low Reference |
I |
- |
| 13 |
0.35 |
VT/BK |
3 |
Run/Crank Ignition 1 Voltage |
I |
- |
| 14 |
0.5 |
BK |
2450 |
Ground |
I |
- |
| 15 |
0.35 |
GY/BK |
3555 |
Passive Start Interior Antenna 2 Signal Lo |
I |
- |
| 16 |
0.35 |
BN/BK |
3552 |
Passive Start Interior Antenna 1 Signal Hi |
I |
- |
| 17 |
0.35 |
WH |
3553 |
Passive Start Interior Antenna 1 Signal Lo |
I |
- |
| 18 |
0.5 |
WH/GN |
3556 |
Passive Start Interior Antenna 3 Signal Hi |
I |
- |
| 19 |
0.5 |
GN |
3557 |
Passive Start Interior Antenna 3 Signal Lo |
I |
- |
| 20 |
0.35 |
BU |
3554 |
Passive Start Interior Antenna 2 Signal Hi |
I |
- |