LEMON Manuals: Even more car manuals for everyone: 1960-2025
Home >> Cadillac >> 2018 >> CTS Base, AWD >> Repair and Diagnosis (Single Page) >> Electrical >> Wiring Diagrams >> Component Connector End Views (K47-K178) >> Component Connector End Views >> K84 Keyless Entry Control Module X2
April 5, 2026: LEMON Manuals is launched! Read the announcement.

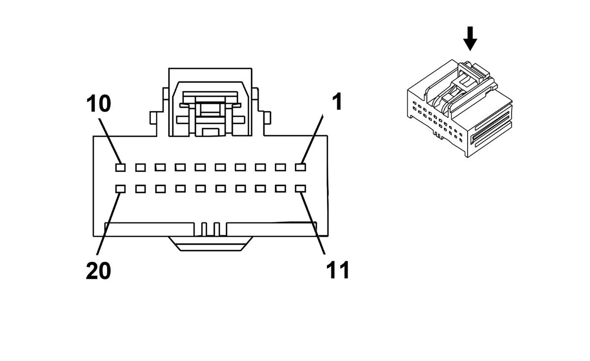
K84 Keyless Entry Control Module X2

GM2871891Courtesy of GENERAL MOTORS COMPANY
Connector Part Information
  • Harness Type: Body
  • OEM Connector: 13584269
  • Service Connector: 13577797
  • Description: 20-Way F 0.64 Kaizen Series (L-GY)
Terminal Part Information

Terminal Type ID Terminated Lead Diagnostic Test Probe Terminal Removal Tool Service Terminal Tray Name Core Crimp Insulation Crimp
I 13575742 J-35616-64B (LT BU) J-38125-215A Not Available Not Available Not Available Not Available
Pin Size Color Circuit Function Terminal Type ID Option
1 0.35 YE/GY 6158 Right Rear Door Handle Switch Signal I -
2 0.35 BN/YE 6157 Left Rear Door Handle Switch Signal I -
3 - 5 - - - Not Occupied - -
6 0.35 VT 3560 Passive Entry Driver Door Antenna Signal Hi I -
7 0.35 VT/GY 3561 Passive Entry Driver Door Antenna Signal Lo I -
8 - - - Not Occupied - -
9 0.35 GN/BK 3563 Passive Entry Passenger Door Antenna Signal Lo I -
10 - - - Not Occupied - -
11 0.35 VT 3571 Passenger Door Handle Switch Signal I -
12 0.35 GN/WH 3570 Driver Door Handle Switch Signal I -
13 - 15 - - - Not Occupied - -
16 0.5 BN/GN 3568 Passive Entry Rear Closure Antenna Signal Hi I -
17 - - - Not Occupied - -
18 0.5 GN/GY 3569 Passive Entry Rear Closure Antenna Signal Lo I -
19 - - - Not Occupied - -
20 0.35 GN/YE 3562 Passive Entry Passenger Door Antenna Signal Hi I -