LEMON Manuals: Even more car manuals for everyone: 1960-2025
Home >> Cadillac >> 2018 >> CTS Base, AWD >> Repair and Diagnosis (Single Page) >> Quick Lookups >> Wiring Diagrams >> Component Connector End Views (K9-K20) >> Component Connector End Views >> K20 Engine Control Module X1 (LF3)
April 5, 2026: LEMON Manuals is launched! Read the announcement.

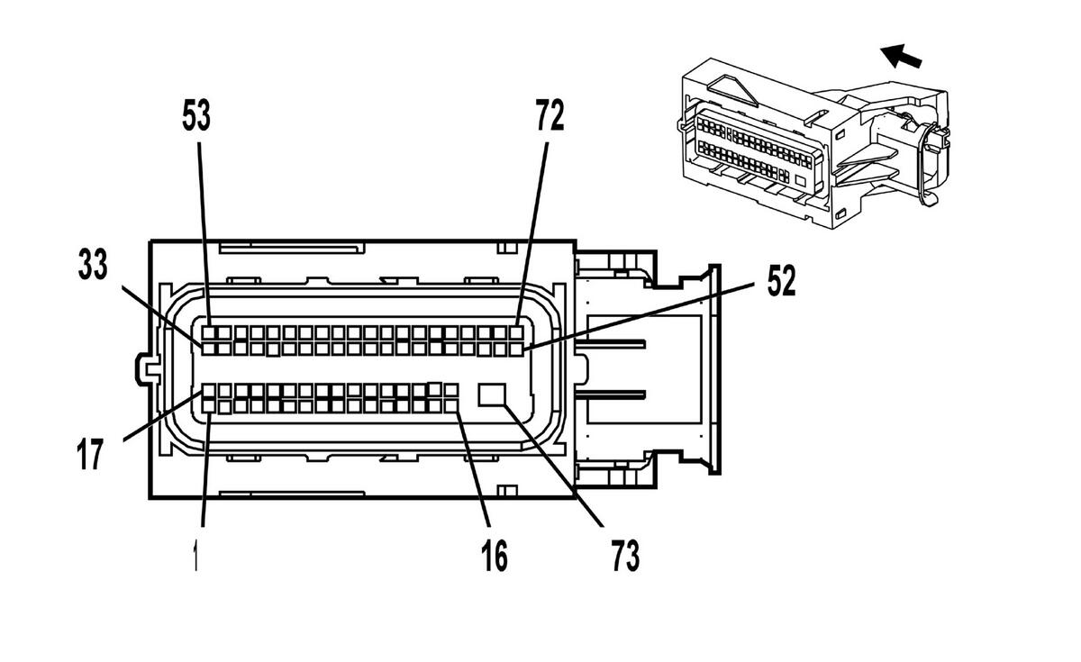
K20 Engine Control Module X1 (LF3)

GM2889071Courtesy of GENERAL MOTORS COMPANY
Connector Part Information
  • Harness Type: Engine
  • OEM Connector: 12615655
  • Service Connector: 13574946
  • Description: 73-Way F 0.64, 2.8 Series, Sealed (BK with BU Terminal Position Assurance)
Terminal Part Information

Terminal Type ID Terminated Lead Diagnostic Test Probe Terminal Removal Tool Service Terminal Tray Name Core Crimp Insulation Crimp
I 13579770 J-35616-4A (PU) J-38125-11A 7116-4152-02 Yazaki 9 2 5
II 19330179 J-35616-64B (LT BU) J-38125-12A Not Available Not Available Not Available Not Available
Pin Size Color Circuit Function Terminal Type ID Option
1 - - - Not Occupied - -
2 0.5 BU/WH 7446 Fuel Line Pressure Sensor Signal II G96+LF3
3 - - - Not Occupied - -
4 0.5 VT/BU 7330 Pre Throttle Air Temp and Press (TMAP) Air Pressure Signal II LF3
5 0.5 GY/RD 7331 Pre Throttle Air Temp and Press (TMAP) 5V Reference II LF3
6 0.5 GN 380 A/C Refrigerant Pressure Sensor Signal II LF3
7 - - - Not Occupied - -
8 0.5 BK/YE 7447 Fuel Line Pressure Sensor Low Reference II G96+LF3
9 0.5 BU/WH 890 Fuel Tank Pressure Sensor Signal II LF3
10 0.5 YE/RD 2709 Fuel Tank Pressure Sensor 5V Reference II LF3
11 - 12 - - - Not Occupied - -
13 0.5 WH/BU 7329 Pre-Throttle Air Temp and Press (TMAP) Temperature Signal II LF3
14 0.5 WH/RD 1164 Accelerator Pedal Position 5V Reference 1 II LF3
15 0.5 YE/WH 1161 Accelerator Pedal Position Signal 1 II LF3
16 - 19 - - - Not Occupied - -
20 0.5 BK/VT 7332 Pre Throttle Air Temp and Press (TMAP) Low Reference II LF3
21 0.5 BN/RD 2700 A/C Pressure Sensor 5V Reference II LF3
22 0.5 BK/BN 5514 A/C Refrigerant Pressure Sensor Low Reference II LF3
23 - - - Not Occupied - -
24 0.5 BN/RD 7445 Fuel Line Pressure Sensor 5V Reference II G96+LF3
25 0.5 BU/VT 1589 Primary Fuel Level Sensor Signal II LF3
26 0.5 BK/GN 6281 Fuel Level Sensor Low Reference II LF3
27 0.5 BU/WH 1937 Secondary Fuel Level Sensor Signal II LF3
28 - 29 - - - Not Occupied - -
30 0.5 BK/BU 1271 Accelerator Pedal Position Low Reference 1 II LF3
31 - - - Not Occupied - -
32 0.5 WH/GY 459 A/C Compressor Clutch Relay Control II LF3
33 0.5 BN/RD 1274 Accelerator Pedal Position 5V Reference 2 II LF3
34 0.5 GN/WH 1162 Accelerator Pedal Position Signal 2 II LF3
35 - - - Not Occupied - -
36 0.5 BU/BK 7493 High Speed GMLAN Serial Data (+) 3 II G96+LF3
37 0.5 WH 7494 High Speed GMLAN Serial Data (-) 3 II G96+LF3
38 - - - Not Occupied - -
39 0.5 BU 2500 High Speed GMLAN Serial Data (+) 1 II MGG
40 0.5 WH 2501 High Speed GMLAN Serial Data (-) 1 II MGG
41 0.5 BU/WH 2918 Fuel Rail Pressure Sensor Signal II LF3
42 - 43 - - - Not Occupied - -
44 0.5 GN/GY 465 Fuel Pump Primary Relay Control II G96+LF3
45 - - - Not Occupied - -
46 0.5 BN/WH 419 Check Engine Indicator Control II LF3
47 0.5 WH/RD 5381 Brake Position Sensor 5V Reference II LF3
48 0.5 WH/GN 5380 Brake Position Sensor Signal II LF3
49 0.5 GY 5127 After Boil Heater Relay Control II LF3
50 - - - Not Occupied - -
51 0.5 VT/GN 439 Run/Crank Ignition 1 Voltage II -
52 0.5 RD/BN 440 Battery Positive Voltage II LF3
53 0.5 BK/VT 1272 Accelerator Pedal Position Low Reference 2 II LF3
54 - 56 - - - Not Occupied - -
57 0.5 WH/BU 6311 Cruise/ETC/TCC Brake Signal II LF3
58 - - - Not Occupied - -
59 0.5 WH/BK 2366 Cooling Fan Control Relay Speed Signal II LF3
60 - 61 - - - Not Occupied - -
62 0.5 VT/BU 5291 Powertrain Main Relay Fused Supply 2 II LF3
63 0.5 YE/BK 625 Starter Enable Relay Control II LF3
64 - 65 - - - Not Occupied - -
66 0.5 WH 1310 EVAP Canister Vent Solenoid Control II LF3
67 0.5 VT/BU 5292 Powertrain Main Relay Fused Supply 3 II LF3
68 0.5 BK/YE 5382 Brake Position Sensor Low Reference II LF3
69 - - - Not Occupied - -
70 0.5 VT/YE 5985 Accessory Wakeup Serial Data II LF3
71 - - - Not Occupied - -
72 0.5 YE 5991 Powertrain Relay Coil Control II -
73 2 VT/BU 5290 Powertrain Main Relay Fused Supply 1 I LF3