LEMON Manuals: Even more car manuals for everyone: 1960-2025
Home >> Cadillac >> 2018 >> XTS Base >> Repair and Diagnosis (Single Page) >> Quick Lookups >> Wiring Diagrams >> Component Connector End Views (K50-M55P) >> Component Connector End Views >> K99 Steering Column Position Control Module X3
April 5, 2026: LEMON Manuals is launched! Read the announcement.

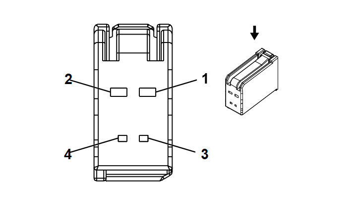
K99 Steering Column Position Control Module X3

GM2829881Courtesy of GENERAL MOTORS COMPANY
Connector Part Information
  • Harness Type: Instrument Panel
  • OEM Connector: 19206653
  • Service Connector: 19299685
  • Description: 4-Way F 0.64, 1.5 Series (WH)
Terminal Part Information

Terminal Type ID Terminated Lead Diagnostic Test Probe Terminal Removal Tool Service Terminal Tray Name Core Crimp Insulation Crimp
I Not Required J-35616-14 (GN) No Tool Required Not Required Not Required Not Required Not Required
II Not Required J-35616-64B (LT BU) No Tool Required Not Required Not Required Not Required Not Required
Pin Size Color Circuit Function Terminal Type ID Option
1 1 RD/BN 3640 Battery Positive Voltage I -
2 1 BK 1550 Ground I -
3 - - - Not Occupied - -
4 0.35 GN/WH 7530 Local Interconnect Network Serial Data Bus 8 II -