LEMON Manuals: Even more car manuals for everyone: 1960-2025
Home >> Cadillac >> 2019 >> CTS Base, AWD >> Repair and Diagnosis (Single Page) >> Quick Lookups >> Wiring Diagrams >> Component Connector End Views (K40P-K178) >> Component Connector End Views >> K167L Multifunction LED Control Module - Front Fascia Left X1
April 5, 2026: LEMON Manuals is launched! Read the announcement.

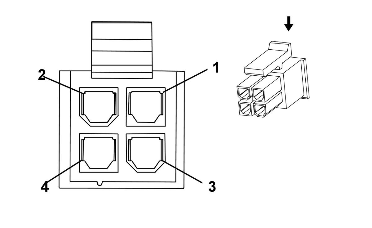
K167L Multifunction LED Control Module - Front Fascia Left X1

GM3630828Courtesy of GENERAL MOTORS COMPANY
Connector Part Information
  • Harness Type: Left Multifunction Lamp
  • OEM Connector: 5557-02R-BL
  • Service Connector: Service by Harness - See Part Catalog
  • Description: 4-Way F Mini-Fit Series (BK)
Terminal Part Information

Terminal Type ID Terminated Lead Diagnostic Test Probe Terminal Removal Tool Service Terminal Tray Name Core Crimp Insulation Crimp
I Not Required Not Available No Tool Required Not Required Not Required Not Required Not Required
Pin Size Color Circuit Function Terminal Type ID Option
1 0 BK 1314 Left Front Turn Signal Lamp Control I -
2 0 BK 6568 Front Turn Lamp Feedback Signal I -
3 0 BK 550 Ground I -
4 0 BK 4357 Left Auxiliary DRL Control I -