LEMON Manuals: Even more car manuals for everyone: 1960-2025
Home >> Cadillac >> 2019 >> CTS Base, AWD >> Repair and Diagnosis >> External Pages >> Different car >> Section 11 (Component Connector End Views (Q13-S78)) >> Component Connector End Views >> S2 Transmission Manual Shift Switch
April 5, 2026: LEMON Manuals is launched! Read the announcement.

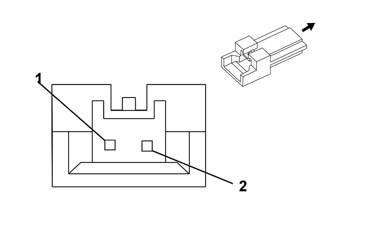
S2 Transmission Manual Shift Switch

WARNING: This page is about a different car, the 2018 Cadillac CTS. However, it is still accessible from the selected car via links, so may be relevant.
GM3627253Courtesy of GENERAL MOTORS COMPANY
Connector Part Information
  • Harness Type: Shift Lever
  • OEM Connector: PALR-02VF
  • Service Connector: Service by Harness - See Part Catalog
  • Description: 2-Way M (WH)
Terminal Part Information

Terminal Type ID Terminated Lead Diagnostic Test Probe Terminal Removal Tool Service Terminal Tray Name Core Crimp Insulation Crimp
I Not Required Not Available No Tool Required Not Required Not Required Not Required Not Required
Pin Size Color Circuit Function Terminal Type ID Option
1 0 YE 5525 Tap Up/Tap Down Enable Signal I -
2 0 WH 539 Run/Crank Ignition 1 Voltage I -