LEMON Manuals: Even more car manuals for everyone: 1960-2025
Home >> Cadillac >> 2019 >> Escalade Base, 4WD >> Repair and Diagnosis >> External Pages >> Different car >> Section 52 (Component Connector End Views (K20 LUW/LWE-M74LR)) >> Component Connector End Views >> K33 HVAC Control Module X1
April 5, 2026: LEMON Manuals is launched! Read the announcement.

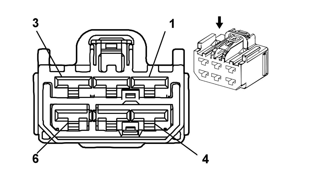
K33 HVAC Control Module X1

WARNING: This page is about a different car, the 2018 Chevrolet Sonic. However, it is still accessible from the selected car via links, so may be relevant.
GM1845354Courtesy of GENERAL MOTORS COMPANY
Connector Part Information
  • Harness Type: Instrument Panel
  • OEM Connector: 7283-3740-40
  • Service Connector: 19153168
  • Description: 6-Way F YESC Kaizen Series (L-GY)
Terminal Part Information

Terminal Type ID Terminated Lead Diagnostic Test Probe Terminal Removal Tool Service Terminal Tray Name Core Crimp Insulation Crimp
I Not Required J-35616-42 (RD) No Tool Required Not Required Not Required Not Required Not Required
Pin Size Color Circuit Function Terminal Type ID Option
1 3 BK 1250 Ground I -
2 2.5 BU/YE 72 Medium 2 Blower Motor Control I -
3 1.5 YE/BN 63 Medium Blower Motor Control 1 I -
4 3 WH/BK 52 High Blower Motor Control I -
5 0.5 GN/BU 761 Blower Speed Feedback Signal I -
6 1 YE 60 Low Blower Motor Control I -